返回上一页  首页 | cnbeta报时: 07:27:33
[图]微软新专利曝光:电磁锁定技术让Surface双屏设备更牢靠
发布日期:2020-01-11 07:46:58  稿源:Win10s.COM

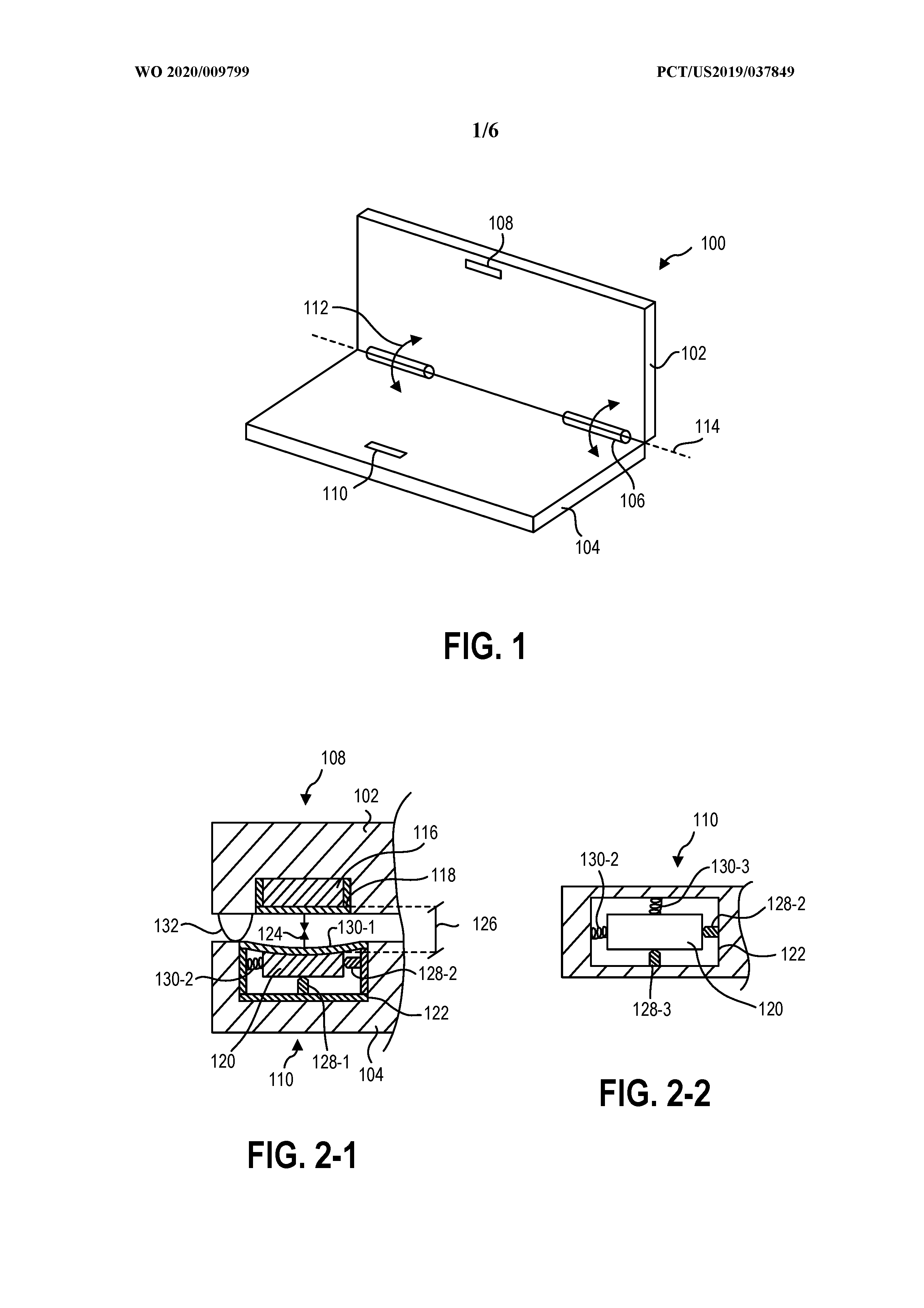
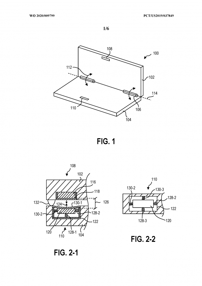
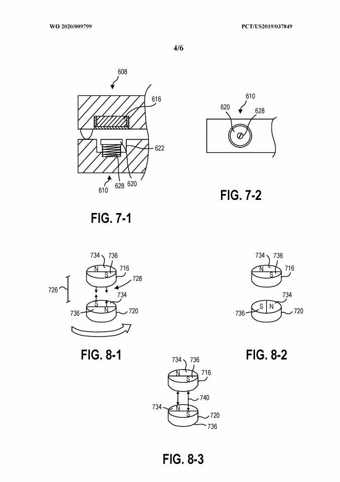
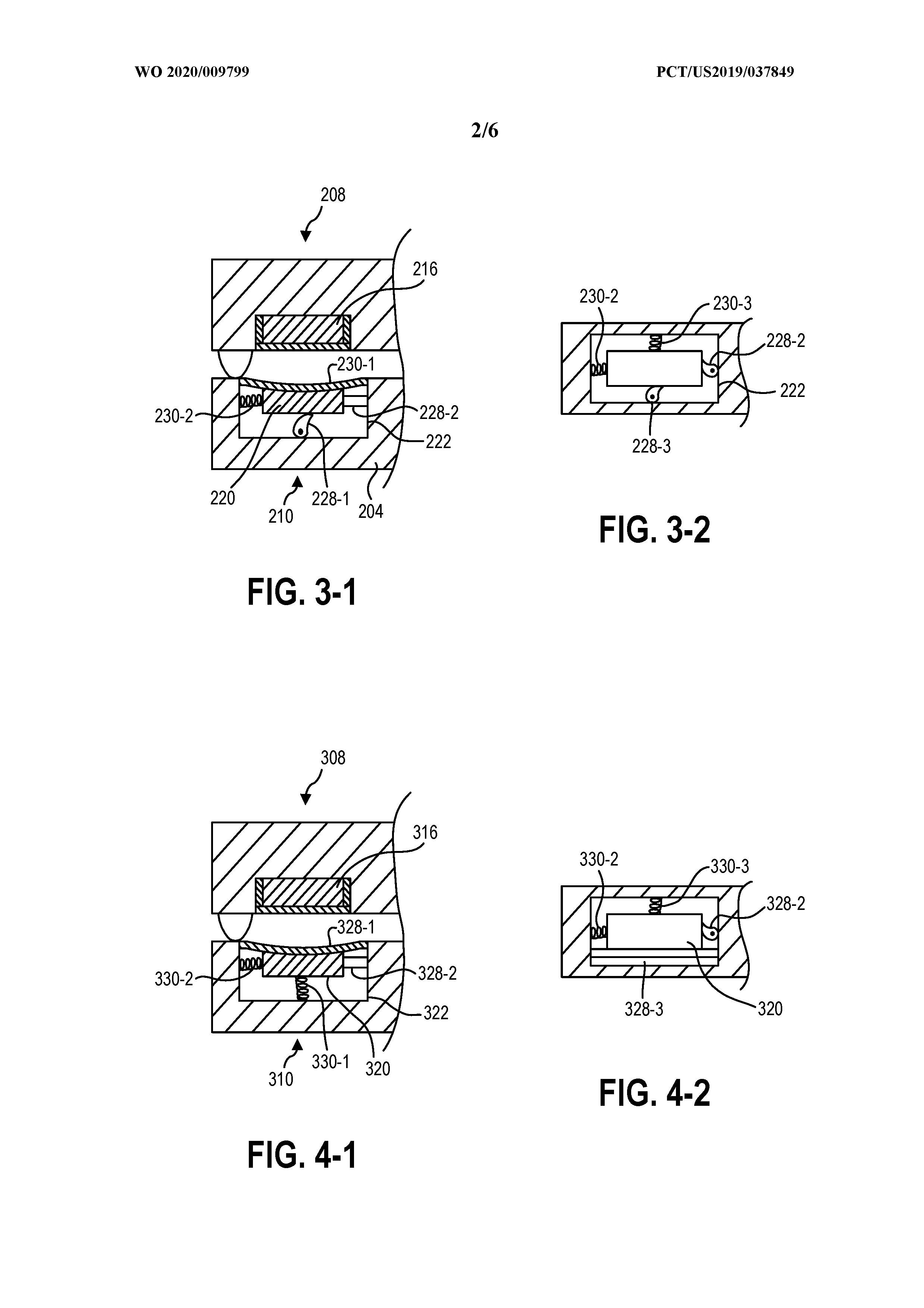
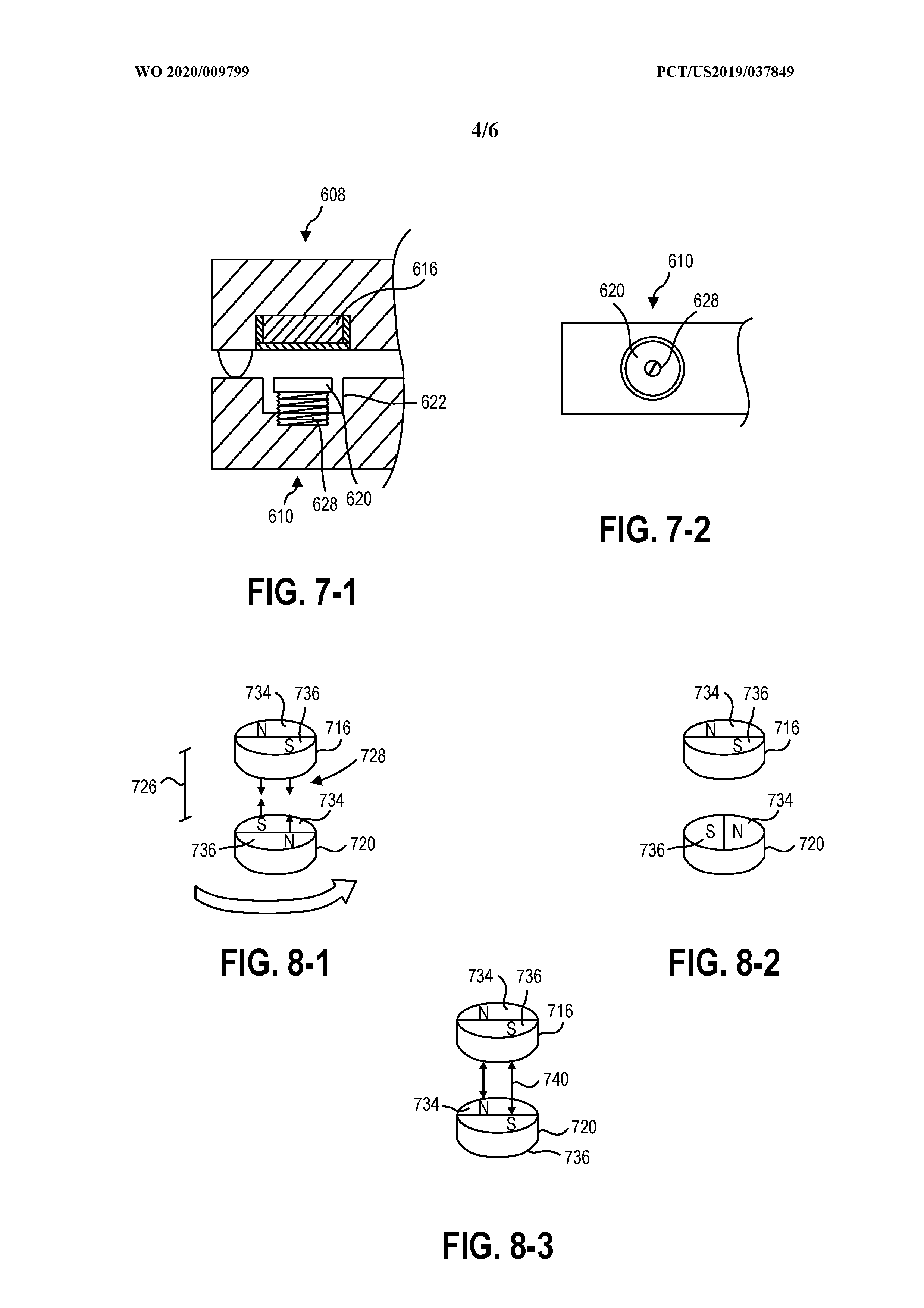
Surface Duo/Neo两款双屏设备有望在今年年底前发售,届时很多当前的疑问将会获得答案,例如设备上是否有相机?Windows 10X和Android系统如何契合这种全新的设备形态?等等。所幸的是不断曝光的专利,为当前了解Surface双屏设备提供了更多侧面信息。援引外媒Windows United报道,微软近期获得了一项关于电磁锁定机制的专利。该专利描述了一种磁性闭合件,通过该磁性闭合件,装置的两个半部在闭合状态下保持在一起。

微软在专利中写道:“封闭装置包括第一磁体,以及装备第二磁体的壳体。第一磁体构造成定位在第一物体中,而壳体构造成定位在第二物体中。壳体具有顶端和连接至壳体的至少一个调节机构,该调节机构使第二磁体相对于壳体的顶端沿至少一个平移方向或至少一个旋转方向运动。第二磁体相对于壳体的顶端的运动调整了第二磁体相对于第一磁体的位置或取向,以在第一磁体位于顶部附近时改变第一磁体和第二磁体之间的磁力。”

查看网友评论   返回完整版观看

返回上一页  首页 | cnbeta报时: 07:27:33

文字版  标准版  电脑端

© 2003-2026