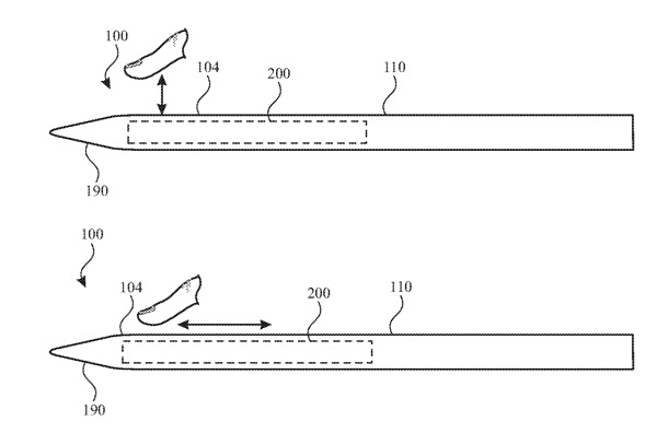
据外媒报道,除了现有的双触控功能,Apple Pencil未来或能通过更全面的触摸感应控制来识别滑动等手势。据悉,Apple Pencil 2新增了用户通过双击触控笔主体上的面板来选择项目或更改模式。现在,一项新的专利文件显示,苹果计划在用户的指尖安装一种灵活的传感器从而来接受触控输入。

苹果在美国专利号为20200012358的“触控笔触控输入”文件中指出:“触控输入可以在用户的自然握笔位置接收。”

“当用户手持触控笔或其他基于触摸的输入设备时,其可能被限制在由此提供的输入选项中,”文件写道,“因此,集成到输入设备中的额外输入功能将能为用户提供扩展的输入功能,而无需同时操作额外的输入设备。”
为了实现这一点,触控笔将会有一个“隐蔽”传感器,如电容传感装置。