在 2019 年 10 月 2 日于纽约举办的硬件发布会上,微软一口气宣布了包括 Surface Pro 7、Surface Pro X、Surface Neo 和 Surface Duo 在内的多款机型。其中 Surface Neo 将采用英特尔下一代 Lakefield CPU,预计 2020 年 12 月在特定市场开售。微软希望借此开辟新的设备类别,同时展望移动生产力的新远景。

(图自:MKBHD,via Windows Latest)
与三星 Galaxy Fold 和华为 Mate X 不同,Surface Neo 原型采用了两块相对独立的屏幕,中间通过可折叠铰链组合到一起,并支持多种使用模式。
不过近日,有人发现了微软在 2018 年 6 月提交的另一项专利,有望提升为 Surface Neo 开发的应用程序的质量。

(图自:USPTO)
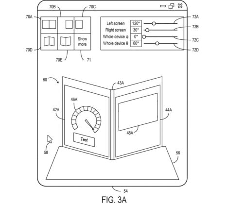
该专利题为“多屏显示设备的仿真模拟”,美国专利商标局(USPTO)在 2019 年 12 月 19 日公布了它的详情。
当前的模拟器,可能会在 Surface Neo 之类的双屏设备上出现错误的显示,但这项专利提出了不同的方案。

(图自:USPTO)
在将应用程序交付给消费者之前,开发者能够通过新版模拟器对其展开测试。它不仅支持单屏和双屏设备,甚至还支持第三块屏幕的显示。
专利文件进一步指出,双屏设备或为加速度计等传感器提供“结构支持”,传感器区域包括前置摄像头和 RGB 摄像头。
此外微软表示,硬件制造商能够在设备的正面放下至少一个环境光传感器和深度感知摄像头。