返回上一页  首页 | cnbeta报时: 15:03:07
量产版Rivian R1T电动皮卡可能会配备一个“戏法”后厢挡板
发布日期:2020-01-03 09:56:53  稿源:Win10s.COM

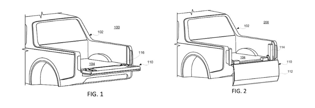
据外媒报道,电动皮卡初创公司Rivian可能正在计划在其R1T中重新设计这款汽车的关键部分,其在去年7月向世界知识产权组织提交并于上个月公布的一份专利申请文件让人们了解到了这点。通过专利图片可以看到,Rivian为R1T设计了两种后厢挡板的打开方案。

rivian-r1t-truck-24.jpg

一种就是标准的放低挡板,即让挡板跟皮卡后厢齐平。虽然这在本质上没有什么问题,但会使得人们从后厢拿东西变得麻烦,特别是在运输过程中移动的时候。所以这样看起来第二种才是更好的解决方案,即放下挡板使其直接指向地面,并且其垂直摆动服务甚至可以超过传统方式的90度角。

rivian.jpg

不过这种方法也存在一个问题,即如果有一辆挂车被挂在皮卡后面那么挡板就不能完全向下摆动。Rivian似乎意识到这点,对此,它在专利文件中提到了插销在需要时停止移动的可能性。Rivian已经在R1T原型车中展示了这项技术,现在鉴于这项专利申请的曝光,几乎可以肯定它最终也会出现在量产版中。

查看网友评论   返回完整版观看

返回上一页  首页 | cnbeta报时: 15:03:07

文字版  标准版  电脑端

© 2003-2026