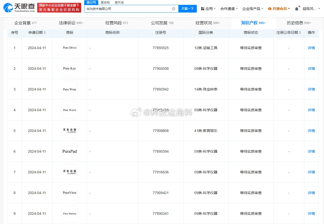
据公开资料显示,华为技术有限公司日前申请注册多个Pura系列商标。其中包括PuraPad、Pura Drive、Pura Key、Pura Watch、PuraView、Pura Ultra、Pura Wear等,国际分类包括运输工具、科学仪器、珠宝钟表。
值得注意的是,前不久华为还被发现注册了“PuraOS”商标,当前状态为等待实质审查。
从这一系列动作来看,华为或许会将Pura打造成一个完善的体系,类似子品牌,拥有全套的独立产品体系。
甚至还会打造独立系统,基于鸿蒙改版,与Mate系列等其他机型做出区分。

当然,华为此举也可能仅仅是商标保护,具体还要等待官方揭晓。
华为此前在4月15日正式宣布P系列正式升级为Pura系列,P系列在上市12周年的日子正式落幕,开启新生。
