据称 AMD 利用其 Navi 4C"RDNA 4"MCM GPU 为下一代 Radeon RX 8000 发烧级显卡提供动力。如果您之前一直在阅读我们最近的报道,您可能已经留意到据传 AMD 取消了其高端 RDNA 4 GPU。现在,爆料人摩尔定律已死(Moore's Law is Dead)可能会提供一些有关特定 SKU 的额外信息,这些 SKU 本应是新 GPU 阵容的一部分,但却被砍掉,转而采用更主流的 GPU。
MLID 发布了一张疑似 Navi 4C GPU 的示意图,正如 Kepler_L2 几个月前披露的那样,Navi 4C 是基于 RDNA 4 架构的三种 Navi 4 配置之一,其他两种配置分别是 Navi 4X 和 Navi 4M。Navi 4C 配置看起来主要是一种非常先进的 MCM(多芯片模块)设计,利用了各种构建模块。
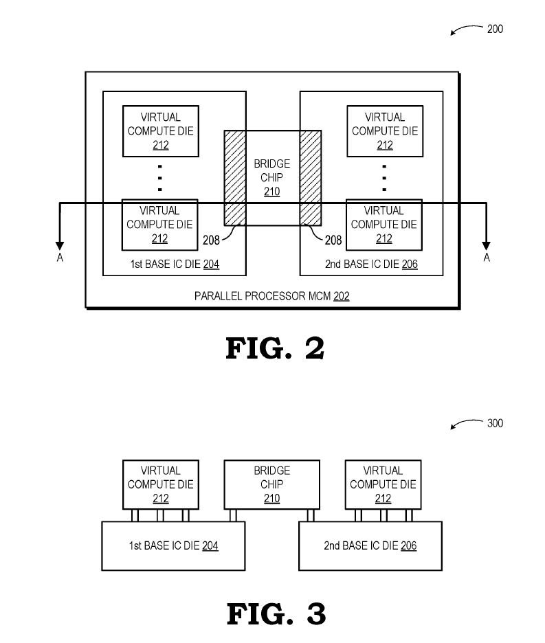
AMD Navi 4C (RDNA 4) GPU 的底层是封装基板,在它上面可以容纳多个 AID 和 MID。AID 是一种有源内插芯片,共有四个,并配有一个 MID 或多媒体和 I/O 芯片,它与现有 Navi 31 和 Navi 32 MCM GPU 上的 MCD 类似。该芯片组包括 VRAM 总线控制器和 Infinity 高速缓存以及其他多媒体功能。MID 通过新一代互连结构连接到 AID,AID 之间也通过相同的结构互连。

现在,每个 AID 上都有三个 SED,采用堆叠式芯片组配置。这些 SED(着色器引擎芯片)是执行着色器任务的主要 GPU IP 模块。从图中可以看出,基于 RDNA 4 图形架构的 Navi 4C 配置上至少有 9 个 SED。整个封装基于台积电的 COW-V TSV(Chip-On-Wafer,晶圆芯片)技术,并将包括多种配置型号,但由于我们还不知道 RDNA 4 的确切配置或 CU/WGP 布局,因此现在就说明这块芯片的用途还为时过早。

您还可以在该专利中找到 SED、AER 和 MID 的相关信息,以下图表即来自该专利:


泄密者称,这种特定配置本应出现在 AMD Radeon RX 8900 XTX 上,因为它取代了 7900 XTX,本应是一款超发烧级产品,但现在看来情况并非如此,至少 RDNA 4 代 GPU 还没有准备好如此大规模的芯片组设计。该公司很可能在试生产过程中没有达到 RDNA 3 系列的目标或预期,于是又回到了绘图板上,为未来的 MCM 设计做准备。
虽然这还只是一个传言,AMD 官方尚未证实任何消息,但 RDNA 4 系列似乎只会有 Navi 44 和 Navi 43 SKU,Navi 42 和 Navi 41 芯片可能会被暂时排除在外。该产品系列预计将于 2024 年推出,因此还有很多时间,而且该公司的 RDNA 3 系列肯定还没有完成,今年秋季晚些时候将进行更多更新。