野马汽车,倒下了。就在中国新能源最好的时代,电动车飞速渗透燃油车份额的当下,野马汽车在四川被告上法庭,开启了破产清算程序。野马汽车在中国新能源市场一直经营不善,这不是啥秘密。年销不过几千台,名号不响,口碑不佳。福特倾注心血、奋力一搏的新能源转型…
咳咳~抱歉,走错片场了,不是福特旗下的电马Mustang。
而是曾逼福特改名还赔款的中国车企——四川野马汽车。
野马汽车倒下
四川野马汽车股份有限公司(下称“野马汽车”)新增破产审查案件,申请人为重庆森迈汽车配件有限公司,经办法院为成都市龙泉驿区人民法院。
案件还在审理之中,相关文书没有公开,但不难推测,野马汽车是因为经营困难,资不抵债,而被供应商,也就是如今的债权人向法院申请破产审查。
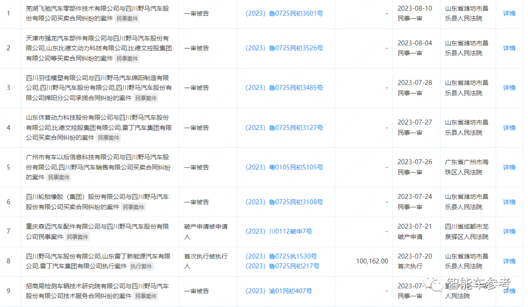
而根据企查查的信息显示,目前野马汽车背负的司法案件多如牛毛。尚未结案的就有500多件。已经结案且有法律文书的,有400多件。
其中绝大部分是野马汽车拖欠供应商款项,作为被告,被债权人告上法庭。
公开可查的涉案金额一共3.58亿元。
这里明确一下概念,根据中国法律,“被申请破产”是指债务人当事人或利害关系人向法院提出的宣告其破产以清偿债务的诉讼请求。
也就是说,接下来将由司法机关对野马汽车的资产进行清算,能抵债的抵债,若是资不抵债,除了列为失信被执行人,也的确没有其他办法。
野马汽车能还上欠款吗?
实际上,野马汽车早就成了“老赖”,历史被执行人信息超过100条,最早的出现在2018年,而且被限制高消费总共60多次。
而且从法律文书来看,野马汽车失信被执行的原因,并不是“有履行能力而拒绝履行”,是真的没钱偿还债务。
野马汽车从何而来
中国汽车工业崛起、新能源弯道超车的浪潮中,不少地区、企业都留下过浓墨重彩的一笔。
比如四川隔壁的重庆,长安汽车带头,发展成中国西南最重要的汽车工业重镇。
但四川汽车工业,一直缺席。没有被人熟知的企业和任何热销的产品,野马汽车算是硕果仅存的。
一度,野马还走在新能源浪潮的最前端。
但野马汽车在经历过国营时期、民营房地产接盘时期等等一系列变故后,最后还是倒在了这个中国新能源最好的时代,并由四川本地司法机构亲手开启破产程序。
这背后,还牵扯出一段山东省“老头乐”救亡图存的故事。
1、国营时期,倒在市场化大潮下
1988年,在当地政府的推动下,成都汽修厂与四川东方红汽修厂、温州汽修厂、四川金鼎客车厂合并,成立了成都轻型车总厂,开启了现代汽车制造之路。
主要生产三个品牌的车型:以越野车为主的野马,以客货运为主的白鹿,以乘用车为主的金顶。
到了90年代初,市场对汽车的需求量很大,尤其是四川省内,公安、检验机构、法院等等,都以野马作为公务车,而且四川省给予了相当大的扶持,比如省内购车税费减免等等。
当时一款车型的价格在7万元以上,即便如此,门口每天都有很多单位排队买车。
当时三大品牌中,野马最为知名,主要供应四川市场。这也是后来川汽时期挂出“野马”品牌的原因。
1992年至1994年,是成都轻型车总厂最辉煌的岁月,年销量可达近万辆。1994年5月,成都轻型车总厂与其他三家成都独资汽车企业合并组建四川汽车工业集团公司。
但此时开始,中国汽车企业开始尝试走合资之路,比如上海大众、北京吉普、广州标致等等。野马还谈到了合资企业。当时与丰田、马自达、双龙等国外车企进行了谈判,但最终由于种种原因,合资未能谈成。
在市场化经营的冲击下,1996年开始野马开始走下坡路,销量下降,并在随后的几年中消失。
2、川汽时期,倒在房地产寒冬中
2002年,此时的四川汽车工业集团公司,实际已经名存实亡。
9月,公司改制后经成都市政府相关部门批复,由四川富临实业集团有限公司实施整体兼并重组。
富临实业集团有限公司,是四川本地民营企业,干房地产起家。后来发展成一个房地产开发、建筑与安装、物业管理、精工制造、医院、进出口贸易等等业务的综合企业。
富临集团尽管是民企,但和四川省成都市有着密切的联系。在2000年初国企改制中,参与了十几家四川国企重组工作,接收安置了大量以前的国企员工,很多业务更是“按照政府的要求”成立经营。
这其中就包括川汽集团和野马汽车。
2005年8月,富临完成新厂建设和技术改造,并把厂房由市区搬迁至成都经济技术开发区。
2006年8月更名为四川汽车工业集团有限公司。
2011年12月,经股份重组之后,正式更名为四川(野马)汽车工业股份有限公司,简称:野马汽车。
这就是今天我们熟知的野马汽车。
主要产品,包括SUV、MPV和轻型客车。
但野马汽车其实路子和当年的众泰一样,高度借鉴成熟车型设计,核心的发动机变速箱,也都是采购。就连生产线,也是从英国的罗孚汽车引进。
论起山寨和逆向工程,众泰见到野马也要直呼内行。从2011年开始,野马上市的几乎所有车型,全部是逆向仿制的其他产品。
甚至包括隔壁重庆的长安汽车,也没逃过被川汽野马山寨。

没有自主研发和技术积累的野马汽车,主打一个性价比路线,车型均价没超过10万元。其巅峰销量,每年不过数千辆。
这造成多年下来野马产量远高过销量,库存一直是严重积压状态。
这样的经营状况,再加上近几年房地产业的寒冬,终于在2019年,野马汽车被全盘打包出售。
四川汽车独苗,给老头乐做了嫁衣
2018年,工信部等六部委发布《关于加强低速电动车管理的通知》,要求各地政府按照“升级一批、规范一批、淘汰一批”的总体思路,停止核准或备案低速电动车投资项目,停止新建低速电动车企业、扩建生产厂房等基建项目。
官方堵死了老头乐企业进一步发展的路子。
而山东,又是低速电动车产业大省,一大堆企业开始在寒冬中想办法转型。这其中,就包括李国欣创办的雷丁汽车。
李国欣是很幸运的,属于刚要吃饭就有人递筷子的那种,经营不善寻求出售的川汽野马,就这样被他的雷丁汽车以14.5亿元收入囊中,100%控股。
绝对是一笔超值的买卖。
而李国欣看中的,其实并不是野马经营不善的燃油车业务,而是新能源资质。
2012年,野马借着四川省背书,早早拿到了新能源资质。只不过一直造一些廉价质量差的油改电,也没有认真营销推广,颇有“骗补贴”之嫌。
雷丁入主野马汽车之后,燃油车基本就搁置了,全力开发新能源车型,也不再挂野马标。
但前两年推出的雷丁i3、i5车型,被用户和媒体毫不留情的指出本质就是老头乐:
i9车型,则是把野马原先的油改电换了个标。
销量自然惨淡。
2022年春节过后,雷丁便已陷入经营困境。先后尝试通过向银行出质股权、接洽A轮融资投资方、向经销商收取大笔预付款等方式填补“窟窿”。但“窟窿”如何形成,规模究竟几何,经销商数亿元预付车款的最终流向,仍是未解之谜。
如今,位于昌乐县比德文路的雷丁产业园和比德文产业园十分安静,据保安称,除各部门还有一两名值班员工外,园区已没有员工来上班,自己也已三个月未领到工资。
此外,雷丁产业园门口还长期有一名昌乐县政府工作人员留守接待来访的经销商。
期间,甚至还发生了创始人李国欣实名举报山东昌乐县政府一事。
他在视频中称昌乐县政府不愿意为雷丁提供续贷支持,影响投资者信心,进而导致雷丁融资无法如期到位、企业停工停产。
后续是没有后续,据说李国欣本人现在已经远遁国外。山东地方政府也无法为雷丁汽车兜底,只能是做一些力所能及的善后。
东家如此,旗下的野马汽车自然也难逃厄运,破产清算也是意料之中。
如何看待野马汽车的倒下?
其实这就是正常的市场竞争淘汰现象,没有自主核心技术,企图通过山寨仿制赚快钱的车企,迟早会倒掉。第二个众泰罢了。
只不过,野马的失败故事中,还展现出中国新能源汽车崛起大潮流下,难以被关注到的另一种途径:
作为最早拿到新能源资质的车企,在几经沉浮后被命运和产业政策推到了老头乐阵营,最终一同走向消亡。
而四川汽车工业,除了外省车企落地建厂之外,估计很难再在新能源发展史上留下属于自己的名字了。
One more thing
提起野马汽车,最为人熟知的就是福特旗下高性能品牌Mustang,最出名的产品就是肌肉跑车。
Mustang本身也是野马的意思。
但进入中国,福特发现“野马”这个名字,早在80年代就被注册了…
甚至当年川汽野马状告福特Mustang侵权,还赢了100万赔偿。
特别是2020年Mustang转型电动,第一跨款车Mach-e登陆中国,福特福特官方为命名大伤脑筋。
包括“木斯塘”、“马斯丹”等等,最后几经纠结,改名“福特电马”。
但如今福特电马那边,也因为经营不善甚至裁撤了独立事业部,被中国市场淘汰,可能也不远。
外国来的野马,没想到也快要不行了。








