作为马自达的一大招牌,转子发动机当年可以说是一些车友购买马自达的一个重要理由。不过随着新能源时代的到来,转子发动机乃至发动机都开始逐渐失去用武之地。不过近日,有媒体报道称,马自达依旧不愿意放弃自己的这一项特色技术,在今年6月在日本继续申请了6项与转子发动机相关的技术专利。

转子发动机
消息称,马自达此前曾表示,新推出的转子发动机虽然不会搭载在燃油车上,但是它将作为增程器出现在MX-30 R-EV中。不过相关专利申请描述了一种更大的双转子设计方案,可用于直接驱动汽车,这可能为新一代搭载转子发动机的马自达跑车提供了技术基础。

马自达MX-30 R-EV
六项专利中有三项与转子本身的形状有关。专利的既定目标是“提高旋转发动机的燃油效率”,新专利或能解决此前转子发动机并不节油的问题,这也是导致马自达RX-8在2012年停产时发动机也停产的原因之一。这些专利展示了不同的设计,每个都有一个独特尺寸的凹形切口。在旋转发动机中,转子在壳体的中心旋转,转子周围的空隙用作燃烧室。通过改变转子和外壳外壁之间的空间形状,这些切口改变了燃烧室的形状,从而可以更好地控制点火,从而实现更完全的燃烧。


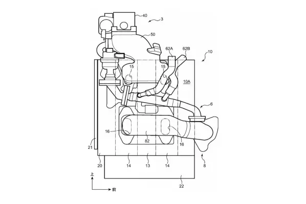
相关专利图
其他三项专利侧重于废气再循环的使用。这一过程包括冷却在热交换器中冷却的废气,然后将其抽回发动机,该过程已用于传统活塞发动机以提高效率。马自达的专利讨论了将废气再循环应用于旋转发动机,描述了进气设计以及如何连接到发动机。