近日,观致汽车有限公司新增3条被执行人信息,执行标的合计1236万余元,执行法院为苏州市中级人民法院、常熟市人民法院。天眼查信息显示,观致汽车有限公司位于江苏省苏州市,成立于2007年12月,是一家以从事汽车制造业为主的企业,法定代表人为何华,公司注册资本1692548万人民币,实缴资本1692548万人民币,并已于2019年完成了股权转让,交易金额15.6亿人民币。
天眼查股权结构图显示,观致汽车有限公司杭州诚茂投资有限公司、芜湖奇瑞汽车投资有限公司和Quantum(2007)LLC三方共同控股,控股比例分别为63%、25%和12%。
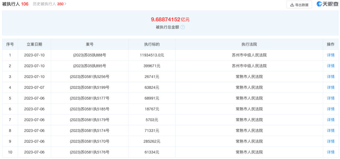
进入2023年以来,观致汽车有限公司被执行人信息一直不断在增加,截至发稿前,该公司存在上百条被执行人信息,被执行总金额超9.6亿元,此外还存在多条失信被执行人、限制消费令及终本案件信息,未履行总金额超4.2亿元。
事实上,观致汽车也不是在今年首次被强制执行,去年就曾曝光过类似的新闻:安徽芜湖经济技术开发区人民法院发布了一则拍卖公告,标的为观致汽车的汽车生产线设备,起拍价约为1.23亿元。
据此前消息,观致汽车名下存款只有2651.30元;在常熟拥有不动产约20幢,但这些不动产不仅有大额抵押,并且被数十次轮候查封;观致汽车名下登记有的车辆绝大多数已被数十次轮候查封,车辆管理部门因技术原因无法再次查封。
在阿里司法拍卖平台上,已有大量观致7新车等待拍卖,而查封车辆的法院,涉及国内多个省份,包括浙江、陕西、河南、重庆等省市。
值得关注的是,这些新车的评估价格较低,以宿州市埇桥区人民法院查封的观致7新车为例,车辆的评估和起拍价均为4万元,与新车10.98-15.98万元的售价区间相比,价格相当具有诱惑力。
不过,以已结束的拍卖场次来看,观致7 1.8T版本的拍卖价格,普遍在7万元左右成交。
此外,值得一提的是,观致汽车作为国产首个高端汽车品牌,由奇瑞汽车和以色列量子基金创立。初期,观致首款车型观致3在国内首发,凭借着时尚的造型和高分过E-NCAP的安全性能,受到车迷的热烈欢迎。
但观致3过高的定价,也让该车曲高和寡,销量始终低迷,2014年-2016年,观致汽车三年累计亏损66亿元。重压之下,奇瑞将观致打包甩卖给了宝能汽车。
在宝能汽车入局后,凭借着联动云共享汽车的疯狂布局,观致汽车2018年的销量冲上了6.32万辆,但是布局共享汽车B端市场,对观致汽车的整体发展弊大于利。随着联动云共享汽车的衰落,观致汽车销量再次下滑。
2019年销量仅2.27万辆,同比下滑63.4%。2021年观致汽车面临内部员工流失、外部供应商和经销商维权、销售失利等诸多因素影响下,其销量再度腰斩,2021年观致汽车销量仅5200辆,平均月销不足450辆。
到了2022年,观致汽车一度深陷负面缠身局面,背后母公司宝能汽车也“泥菩萨过河”,观致汽车也难起死回生,至今,仍被债权人强制执行,复工复产希望渺茫。


