续航焦虑是电动车推广路上的一大难点,近些年来,随着电池本身和补能体系的不断进步完善,开电动车出门已经不是前些年那般令人不安了,不过如果你去一些偏远的地方,还是会有些担忧。近期,福特汽车申请了一项有趣的专利,在车顶位置安装外置电池,可以在没有充电桩的地区为电动车主电池组充电。
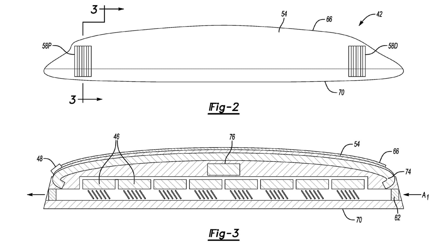
据公开的专利显示,一台福特SUV车顶上背着一块类似于行李箱的装置,该装置内部设有多块电池,同时还有一根可以连接电动车的充电枪。
专利描述:该备用电池可以在准备去一个充电桩稀缺的地区旅行时安装,回到家后卸下,车主可以使用安装在家里的电动汽车充电器为这个电池充电。是不是跟一大号的移动充电宝类似?
“备用电池组包括多个电池模块和一个连接端口,一根线缆可以用来将备用电池组与电动汽车电气连接,通过插入备用电池组的连接端口和电动汽车的充电端口。”
此外,福特表示,车顶备用电池在外壳的两侧有空气管道,可以改善电芯的散热,并且它们可以配备远程操作的阀门,可以关闭以防止水、寒气或沙子进入外壳并可能损坏电池。电池内还包含有一个控制模块,可以与车辆的通信模块进行连接,方便车主在车内对电池进行相关控制。
该专利确实很有创意,即便是你不去远方也有其发挥的价值,比如给需要紧急充电却找不到充电桩的电车补能,进而收取一定的费用,相信对方会很乐意使用。
不过问题也需要直面,毕竟动力电池相当重,这么一大块电池少说也有数百斤,就这么放在车顶,会不会对车顶造成损伤?重心偏移后,会不会改变车辆的行驶稳定性?


