在最近的PlayStation Showcase上,索尼公布了其最新的串流掌机Project Q,社交媒体上有些玩家认为其外观设计过于草率,像是匆忙拼凑出来的东西,然而现在有证据表明,索尼可能早在2015年就开始研发与Project Q十分相似的手持设备了。

早在2015年,索尼就已经为一款看起来非常像Project Q的设备申请了专利,只不过当时PS5的DualSense手柄还没有正式亮相。


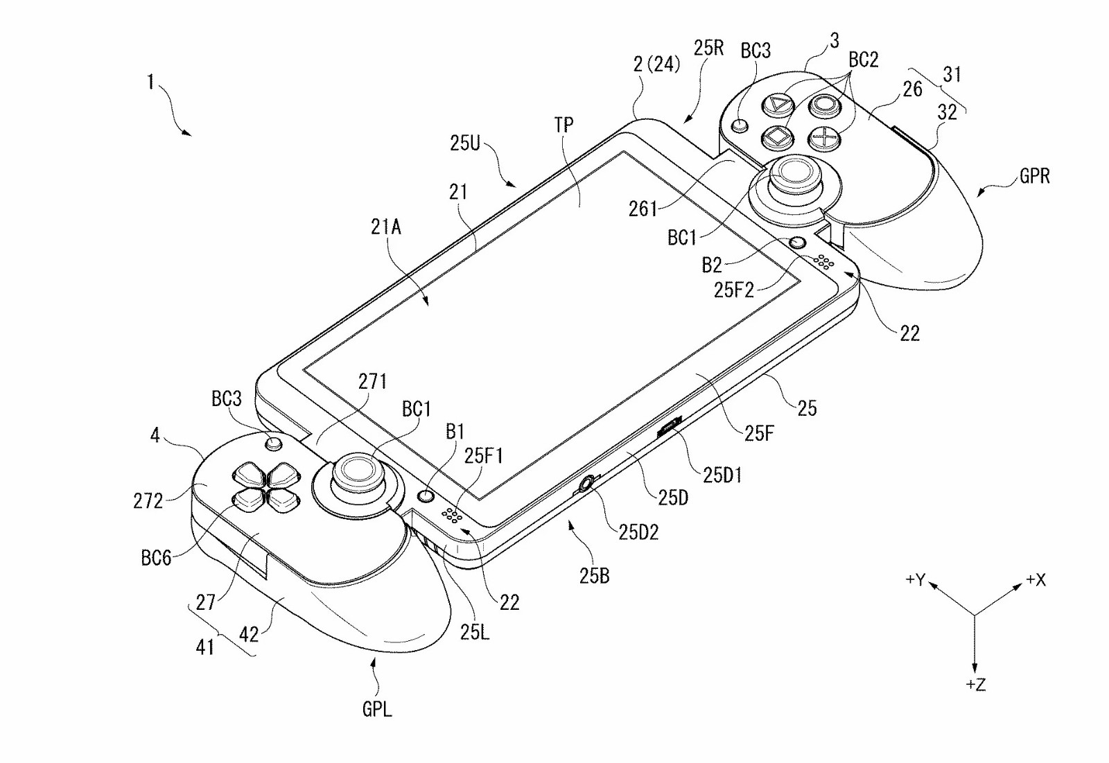
并且索尼似乎也在测试几种不同的手持设备设计,在2021年索尼申请了另一项专利,它也类似于Project Q,看起来更接近最终设计,在屏幕的两侧都有PS4的DualShock手柄。此外,该专利中还提到了一个运动传感器,可以检测设备倾斜的程度和方向,类似于DualShock和DualSense中的传感器。
