在本周早些时候的发布会上,索尼正式公布了一款用于PS5游戏网络串流的“掌机”:Project Q。近日,Project Q的早期专利内容被发现,从该专利来看,这款掌机堪称将手柄“一劈两半”的离谱设计,并非是临时起意的决定。
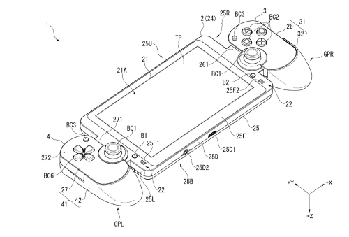
从早期专利图来看,Project Q最初的设计是一个同样一分为二的PS4手柄,这一设计思路也在最终公布的正式版中得到了沿用,构成了我们看到的,“一劈两半”的PS5手柄设计。
除此之外,从专利图来看,至少在最初的设计中,该掌机的屏幕下方留有耳机孔和MicroUSB充电接口。
耳机孔的设计在最终推出的Project Q中是否将得到沿用,还暂不清楚。
据悉,Project Q云掌机配备了一款8英寸高清LCD屏幕,可以1080p/60fps运行游戏。
索尼将在后续公开产品的更多详情。

