据报道,苹果公司今日获得了一项新专利,进一步提高了人们的预期,即苹果将推出一款可折叠屏设备。根据专利描述,这项技术允许用户触摸设备的多个部分,而不仅仅是屏幕,以实现一些功能。例如,用户可以触摸设备的侧面来控制摄像头,苹果将其描述为“虚拟快门按钮”。此外,用户还可以在设备一侧上下滑动手指来控制音量。

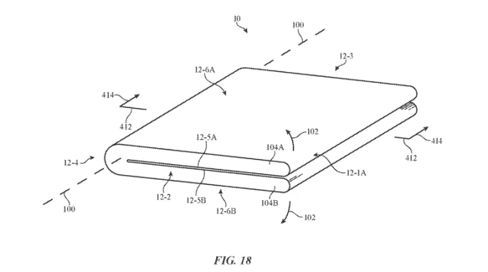
而且,专利描述中还包含一张图像,是一张可折叠的手机或平板电脑的图纸,该手机或平板电脑带有“环绕式”屏幕(即可折叠)。
与三星等竞争对手不同,苹果到目前为止尚未推出可折叠屏iPhone或其他任何设备。但一些分析师预测,苹果将在不远的将来发布这样一款设备。而这一次获得的新专利,进一步提高了人们的这种期待。
瑞银分析师在一份报告中称,这项专利可能表明,苹果将推出一款可折叠设备,但不是今年。瑞银认为,可折叠屏幕将提升未来iPhone的市场需求。瑞银分析师在报告中称:“我们认为,可折叠屏iPhone将推动消费者的购买率和升级率。”
当前,可折叠屏手机只占整个智能手机就市场的一小部分。IDC数据显示,2022年可折叠屏手机仅占智能手机总出货量的1.1%。
在过去的几个月里,一些分析师预测,苹果可能会推出某种可折叠的设备,但应该不是iPhone。因为对于iPhone,苹果并不急于迎合某种新趋势,而是要等待技术成熟。
为此,市场研究公司CCS Insight预计,苹果将在2024年率先推出折叠屏iPad。因为目前推出可折叠iPhone并没有太大的意义,苹果会避开这一趋势,率先用iPad试水。
此外,知名苹果分析师郭明錤也预计,苹果将在2024年发布可折叠屏iPad。