返回上一页  首页 | cnbeta报时: 19:34:47
专利显示未来的Apple Watch可能会在表冠上安装一个摄像头
发布日期:2022-05-31 19:35:55  稿源:Win10s.COM

苹果公司一直在研究如何在Apple Watch中安装相机镜头,其中一个建议是将其作为人们熟悉的数字表冠的一部分。想象一下,当你指着某人时,你的Apple Watch会在他们不知情的情况下拍下照片。这一点令人毛骨悚然。不过可以肯定苹果公司会有隐私保护措施,因为一项新授予的专利七次强调了这种设计对隐私的需求。然而,"拥有摄像头的手表"专利本身并没有详细说明任何有关隐私的问题。

48644-95003-000-lead-Watch-camera-d2-xl.jpg

目前的披露,"设想负责收集、分析、披露、转移、存储或其他使用这些个人信息数据的实体将遵守既定的隐私政策和/或隐私惯例。"

此前,苹果已经获得了一项专利,建议在Apple Watch的显示屏下安装一个嵌入式摄像头。即使这项新专利也不完全是关于使用数字表冠。

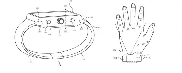
"另外,或者说......摄像头可以实现为背向式摄像头,通过手表外壳的背面来捕捉图片,"该专利建议。"尽管当手表外壳戴在手腕上时,手腕可能会遮挡住相机拍摄场景,但外壳可以通过连接接口中的释放机制从手腕上卸下,或通过将外壳与表带一起卸下,以用背面的相机拍摄照片。"

因此,用户可以摘下他们的的手表,举起它,以一种看起来不像是跟踪者,更像是间谍的方式拍照。

苹果认为手表表面可以变成取景器,"相机闪光灯......当手表戴在手腕上时,可以多用于光学心率监测或其他生理感应应用。"

不过,这个想法几乎是一个侧面的想法,例如没有触及诸如手表从手腕上取下时如何锁定的问题。

"手表可以包括一个可旋转的表盘,例如用于数字输入的可旋转表冠。照相机可以包括在该组件中,以便通过延伸到表盘的孔隙捕捉图像。一个镜头可以集成在孔径内和/或表盘的孔径后面,以聚焦一个场景的图像,"专利文件描述说。"设置在光圈后面的图像传感器可以进一步被配置为检测表盘上标记的移动,以使图像传感器既能作为相机捕捉场景的图片,又能作为检测表盘旋转的传感器,以感知旋转输入。"

48644-95004-001-Detail-from-the-patent-xl.jpg

将镜头装入数码表冠有两个相伴而生的问题。一个问题是,该专利没有讨论如何拍摄照片。

一个明显的可能性是,手表表面再次变成取景器,并有一个用于拍摄的按钮。另外,苹果可以扩展其新的Apple Watch无障碍功能,比如说,当用户握紧拳头时,就可以拍摄。

不过,另一个问题是如何将镜头装入数码表冠,这已经是一个相当复杂的问题,这项专利并没有涉及这一点。

这项专利的两位发明人之一是泰勒-布什内尔(Tyler S. Bushnell),他以前的工作包括申请改造数码表冠的专利。与其说是机械装置,不如说是表冠的顶部可以做成一个触摸敏感区--这将有可能为相机镜头提供空间。

我们在FebBox(https://www.febbox.com/cnbeta) 开通了新的频道,更好阅读体验,更及时更新提醒,欢迎前来阅览和打赏。
查看网友评论   返回完整版观看

返回上一页  首页 | cnbeta报时: 19:34:47

文字版  标准版  电脑端

© 2003-2025