自动驾驶技术即将到来,而在此之前,汽车方向盘也会首先变革一番。特斯拉全新Model S/X,已经安装了Yoke矩形方向盘,而宝马也拿出了类似的方向盘。日前,宝马曝光了全新方向盘设计专利,其并非为常规的圆形方向盘,而是类似于特斯拉的矩形方向盘。
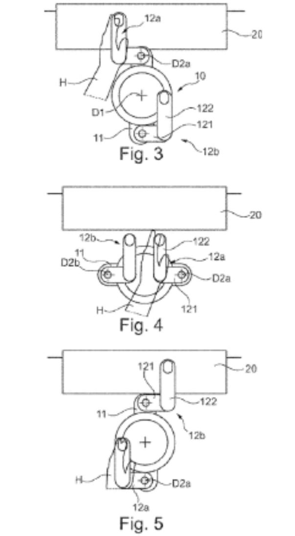
同时,所不同的是,每一个单独手握的方向盘结构,各有一个可自由旋转的手柄,汽车自动驾驶时,转向手柄的中央部分将保持在标准的水平位置,即使在转弯时也是如此,手柄旋转始终保持垂直定位。
特斯拉Yoke方向盘
宝马介绍,这种全新方向盘(转向手柄)适用于车辆的自动驾驶功能,主要目的是通过转向手柄获得更多的空间。
车进入自动驾驶模式时,传统的方向盘会占用太多的空间,车主可以利用方向盘原来的位置,使用平板电脑阅读或者处理工作。
对于驾驶员常规驾驶,宝马也进行额外的说明,即便是驾驶员单手驾驶,也能够使用这种方向盘,从宝马提供的示例图中可以看出,单手操作也能够驾驭该方向盘。



