近日,口碑剧集《沉默的真相》《隐秘的角落》的原作小说作者紫金陈发微博,称自己遭到健身房老板卷款跑路。在他晒出的微信对话截图里,他提到自己“还有好几万的课”。

据红星新闻报道,记者联系到紫金陈,他表示自己这次亏了4万元,当时办卡也是一时心血来潮,后来也没怎么去健身,至于是否会把钱追回来,他说不追了,因为追不回来,先看其他人怎么处理。
另据钱江晚报报道,紫金陈对记者表示,自己腰部正在恢复时期,买了金吉鸟健身房(宁波宁南北路店)的会员卡和私教课。
据中国基金部报道,金吉鸟成立于2005年,全国门店连锁最多时达400多家,但早在去年7月份,金吉鸟在南京、天津、长沙等地的门店接连关闭,不少会员都陷入了退卡难的境地。

企查查APP显示,金吉鸟关联公司为上海金吉鸟企业投资管理有限公司,该公司成立于2005年12月,对外投资企业数量近50家,其中主要分布在江苏、浙江、上海等地。2017年曾因广告使用“国家级”、“最高级”、“最佳”等用语,被罚3千元。


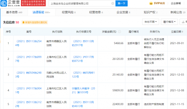
企查查APP显示,该公司当前有41条被执行人信息,50条失信信息,被执行总金额达895.43 万元。

此前紫金陈因腰肌劳损,遭遇医疗诈骗。去年,他因腰肌劳损而到宁波某医院就诊,花了4500元进行“小分子祛炎针”治疗,结果腰疼越来越严重。为了维权,他登上新闻节目《1818黄金眼》,成为首个在该节目出镜维权的名人。节目播出后,涉事医院被罚款3.5万元,涉事医生执业资格被暂停三个月。