返回上一页  首页 | cnbeta报时: 12:55:21
传抖音将推出首款独立电商App 命名为“抖音盒子”
发布日期:2021-12-06 07:13:35  稿源:快科技

你会用抖音买过东西吗?据日前相关报道显示,字节跳动内部正在准备首款独立电商App,命名为“抖音盒子”,目前还正在进行测试中。消息称,抖音盒子将主打年轻人时尚产品和生活方式内容,其他方面的信息目前还尚不明确。

据了解,今年6月字节跳动就已成立一级电商事业部,由原国际化产品负责人康泽宇负责,目的是为了整合字节旗下分散的电商业务。

当时还有消息称电商负责人康泽宇希望以“字节跳动”品牌为核心,打造类似天猫的独立平台,但字节跳动对此进行了否认。

据悉,今年9月字节跳动低调收购武汉合众易宝科技有限公司(合众易宝)完成第三方支付牌照的获取。

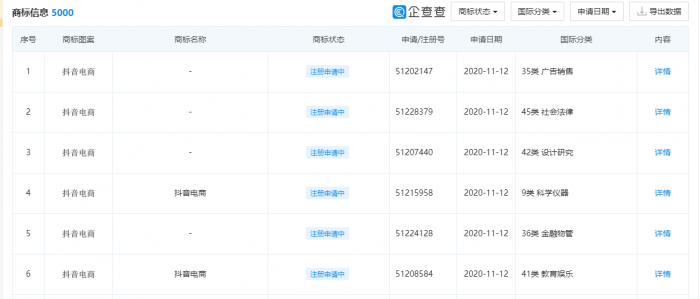
从成立电商事业部+获取第三方支付牌照,到前不久的“抖音电商”商标申请,种种信号似乎都在表示,字节跳动想要进入电商领域。

字节跳动曾注册“抖音电商”商标

而此次,“抖音盒子”或许就将是其向电商领域发起的第一波冲击,受益于抖音强大的流量,以及精确的推荐算法,其最终的表现可能会令人惊喜。

查看网友评论   返回完整版观看

返回上一页  首页 | cnbeta报时: 12:55:21

文字版  标准版  电脑端

© 2003-2026