返回上一页  首页 | cnbeta报时: 22:32:37
微软正考虑为Surface采用类似于iPad Pro妙控键盘的铰链设计
发布日期:2021-07-27 11:12:36  稿源:Win10s.COM

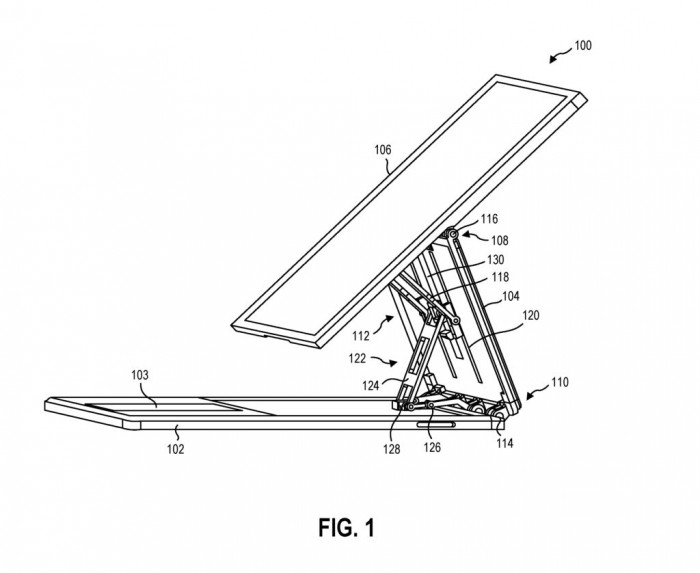
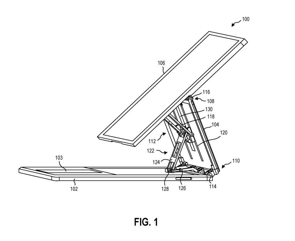
根据最新公示的技术专利,微软正考虑为 Surface 产品线采用类似于 iPad Pro 的浮动铰链。该专利名为“计算设备铰链”,于今年 7 月 22 日公示收录。在专利中描述了一种更加复杂的铰链机制,可以将屏幕提升到底座之上。它还将允许屏幕向前拉,更接近用户,使触摸屏和手写笔的使用更加直接。

当然这样的铰链设计很容易联想到 iPad Pro 的妙控键盘。它有一个键盘和触控板,但也将苹果的平板电脑抬起来,使其处于一个更符合人体工程学的舒适位置。

但和妙控键盘有所不同的是,在微软的设计中平板电脑部分和底座并不是分开的,整个产品是个单一、更灵活的笔记本电脑。正如 Windows Central 指出的那样,这并不是我们第一次从 PC 制造商那里看到这种概念。惠普的 Elite Folio 和 Acer ConceptD 7 Ezel 提供了这样的布局,允许触摸屏向前拉,使其覆盖笔记本电脑的键盘,而不是触摸板。

3nl9wff1.jpg

外观设计类似于 Acer ConceptD 7 Ezel

查看网友评论   返回完整版观看

返回上一页  首页 | cnbeta报时: 22:32:37

文字版  标准版  电脑端

© 2003-2026