去年 12 月,有报道称富士康正在对两款使用可折叠组件的 iPhone 展开原型设计和测试。此外一位分析师预测,苹果或于 2023 年推出一款采用 8 英寸 OLED 柔性屏的 iPhone 智能机。周二的时候,美国专利商标局(USPTO)又揭示了该公司获得的一项“具有滑动可扩展显示屏的电子设备”专利。

(图 via Apple Insider)
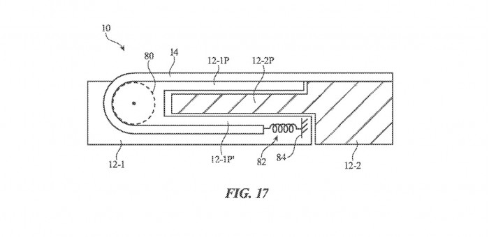
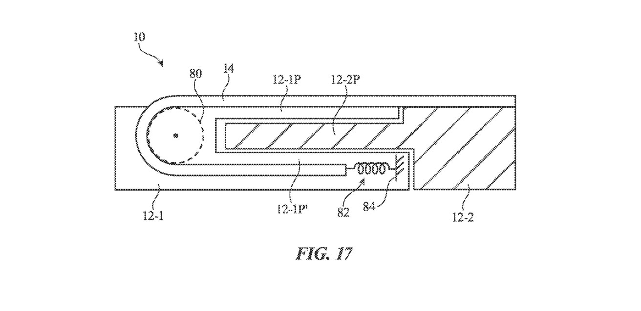
由专利插图可知,苹果提出了一种独特的柔性屏设计方案,暗示这款概念设备能够像卷轴一样,将屏幕卷起收纳于外壳中。
外壳部分包含了可滑动的元件,伴随着机身组件的拉伸,能够将处于卷曲状态的柔性屏也向外拉出。
在紧凑(收纳)状态下,设备可按需点亮小部分屏幕。此外为了确保屏幕的平整,内部还有弹簧来施加一定的力度。
专利最初于 2020 年 1 月 16 日提交
专利文档中主要讨论了对于滑动运动不同处理方法,包括使用细长构件将两半主要部分连接在一起。
随着设备整体尺寸的增长,细长构件也可用于为柔性屏提供支撑。且这些部分能够包含在外壳的一两部分,为设计人员提供相当大的灵活性。
申请人为 Michael B. Wittenberg,、Owen D. Hale、以及 Tatsuya Sano
至于柔性屏在设备内部的收纳方式,除了卷轴部分有所弯曲,其余部分仍可基本保持平坦。
而在另一种方案中,柔性屏会向后折叠量子。至于屏幕本体,显然由包括柔性 OLED 面板在内的特殊基板材料制成。