Apple Insider 报道称:苹果一直在研究有趣的相机技术,比如能够分析 iPhone 图像,以确定被拍摄对象的体温。通常情况下,这类健康功能主要由 Apple Watch 智能手表上的传感器来实现。然而一项新披露的专利申请表明,iPhone 和潜在的 iPad 等设备,也能够在用户的健康监测方面发挥积极的作用。

据悉,这项“用于温度测量的相机附件与图像数据处理”的专利,可针对任何物体的温度测量。然而苹果几乎没有给出其它用例,大部分都围绕着在 iPhone 上开展的体温测量。
智能手机已经随处可见,为提议的这款附件,正好能够让智能机化身为一款温度测量设备,以提供易于访问的温度测量功能。
在具体实施过程中,这款无需外接供电的非电子类无源附件,能够进一步降低制造成本并提升可用性。
说到这,一些人可能立即联想到了类似 Olloclip 的镜头系统。当用户想要测量温度时,可以临时加装相关附件,而不一定要让它成为 iPhone 相机模组的永久性组件之一。
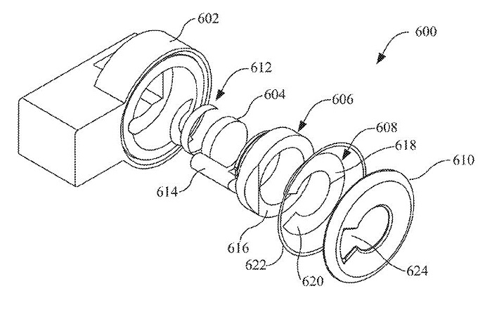
为此,苹果还在专利中提到了一种能够与相机模组耦合的框架附件。其不仅涉及镜头的安装方式,也构成了整个测量流程的关键组成部分。

(来自:USPTO)
苹果在文档中写道,附件包括了可与框架耦合的温度反应材料(TRM),以将之准确定位于相机镜头的视野内。
在温度反应材料提供的图像数据的基础上,系统可通过分析来测量被摄对象的温度。
此外专利申请文档中展示了在已知不同温度下拍摄的一系列图像的示例,意味着系统能够将新图像与之前的一组图像进行比较,以更好地完成温度测量工作。
最后,这项专利的三位发明人中,还包括了曾经为苹果研究过“用于睡眠追踪的床上传感器”的 Zijing Zeng 。