据外媒报道,宝马汽车公司可能没有很早就进入电动摩托车的派对,但这家公司现在正在弥补,它可能成为该行业首款带传动轴的电动摩托车。宝马喜欢它的传动轴摩托车,但电动摩托车行业对它们不感兴趣。
电动马达和电池使摩托车制造商摆脱了传统燃气动力传动系统的设计限制。由于电动摩托车组件的模块化,设计师们摆脱了传统的油箱和笨重的内燃机的束缚,从而获得了前所未有的自由度。
即便如此,大部分的创新都已进入了有趣的电池设计和放置。除了哈雷戴维森的LiveWire,电动机大部分仍是横向安装的,不同制造商之间没有太大的差异。
传统的横向安装电机创造了一个简单易行的方法,将电机的输出轴连接到后轮链轮或皮带轮,它们分别通过链条或皮带驱动。
一些电动摩托车选择减速器,而许多其他的则只是简单地使用直接驱动设置。
不过宝马已经探索了其电动摩托车概念的传动轴设计,如Vision DC Roadster。
现在,一项新的专利展示了这种系统是如何工作的。
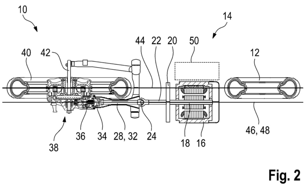
可以看到,传动轴将允许宝马在电机所在位置拥有额外的自由。另外,它还将创造潜在的有趣的齿轮减速选项。
在专利图纸上可以看到行星齿轮系统,这将允许宝马使用一个高效、高速的电动马达从而可以降低到合理的后轮速度。
专利图纸还显示了各种发动机位置的选择,包括纵向安装的电机跟摩托车的长轴同轴或偏移。
在传动轴的恒速关节将使这样的自由放置,这有可能为一些更遥远和未来的摩托车设计铺平道路。
当宝马在2019年推出第一款Vision DC Roadster电动摩托车概念车时,相信不少人最初都以为宝马只是在扔出疯狂的设计,不过现在新设计文件显示,制造商可能正在准备生产这款车。
如果传动轴的设计被实施,它可以使宝马成为首家提供一个生产配备传动轴设置的电动摩托车的制造商。


