返回上一页  首页 | cnbeta报时: 08:00:10
新专利显示苹果AR头显可能会帮助用户眼睛尽快适应环境
发布日期:2021-05-05 00:16:03  稿源:Win10s.COM

据传,苹果正在开发自己的增强现实头显和智能眼镜,目前猜测称为 "苹果眼镜",它也可以使用AR作为向用户显示信息的一种方式。与市场上几乎所有其他的混合现实头显一样,苹果要想为用户优化体验,总是要克服一些挑战。

在美国专利和商标局周二批准的一对专利申请中,苹果似乎已经为使用AR或VR头显时可能出现的两个不同问题提出了解决方案。苹果公司的增强现实头显可以自动考虑用户的视角和所附摄像头之间的差异,而外围照明可以使用户的眼睛更容易适应佩戴AR或VR头显。

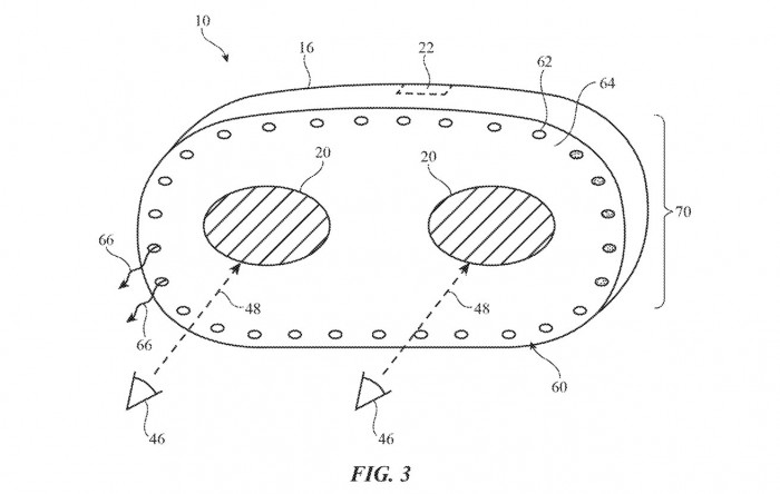
第一项专利是 "带有自适应照明系统的电子设备",涉及用户在戴上或摘下VR或AR头显时的视力这一较少被考虑的问题。苹果认为,当用户第一次戴上头显时,头显用户可能会遇到内置显示屏太暗或被冲淡的情况。当头显在明亮的环境中使用时,情况可能尤其如此,因为在头显的使用过程中,用户的眼睛被有效地屏蔽在环境之外。

在使用结束时,当用户取下耳麦时也存在同样的问题。从相对较暗的耳麦观看环境转到一个更亮的环境可能会使用户感到眩晕或不适,直到他们的眼睛能够适应。苹果公司对此的解决方案实际上是为头显内部提供一个照明系统,照亮用户视线外围的区域。通过使用环境光传感器,该系统可以改变亮度,以更接近环境的光强度,甚至有可能改变光线本身的温度或颜色。

虽然这可能涉及到边缘的一串LED,但也有人建议该专利可以使用导光板将光线引向回路,这可以减少系统所需的LED数量。来自头显上的传感器运动数据可用于调整耳机的亮度,如检测用户何时戴上或摘下耳机。判断这样的动作可以触发系统经历一个照明和调光的过程。

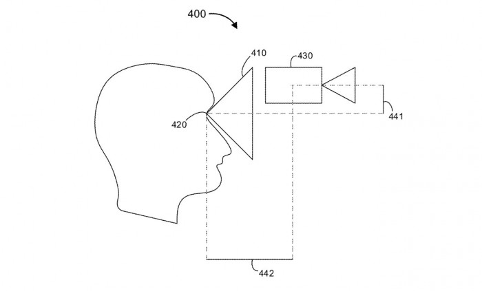
第二项专利,"场景相机重定位",涉及一个关于计算机视觉的问题,以及它与用户的关系。通常情况下,增强现实依赖于渲染与环境视图相关的数字资产,然后将其叠加在来自摄像机的视频资料上并呈现给用户,或者将其叠加在一个透明面板上,用户通过该面板看到真实世界。

虽然这些技术是有意义的,但仍有一些问题是平台创建者必须克服的。在这项专利中,苹果认为观察场景的相机可能看到的东西和用户观察到的东西之间可能存在不匹配。这是因为面向外部的摄像头位置比用户的眼睛更靠前、更高。这是一个完全不同的视角,基于这种不同视角的渲染输出不一定会给用户带来错觉。

简而言之,苹果公司的专利表明,头显可以利用摄像头对环境的观察,对其进行调整以更好地匹配用户眼睛的视角,然后利用调整后的图像,将数字对象更好地渲染到真实世界的场景中。做到这一点的计算可以包括使用转换矩阵来表示视点的不同,以及使用对摄像机视图的分析来确定现实世界物体的深度。该系统可以利用其他数据点来生成其翻译图像,如LiDAR传感器,以获得更准确的深度数据。这也可以利用加速计数据。

由于用户的头部会移动,而头显渲染一个场景对象需要时间,所以在翻译过程中可能会有少量的滞后,通过使用加速计,这也可以使计算进一步改变,以预测用户在未来短时间内的位置。这种预测可以帮助渲染与用户在运动中的最终视角相匹配。

查看网友评论   返回完整版观看

返回上一页  首页 | cnbeta报时: 08:00:10

文字版  标准版  电脑端

© 2003-2026