返回上一页  首页 | cnbeta报时: 02:59:26
新专利显示未来苹果设备可能会变形向用户提供触觉通知
发布日期:2021-04-14 01:11:07  稿源:Win10s.COM

"电子设备输入结构的触觉输出 "是苹果一项新获批的专利。这项专利显示,iPhone、Apple Watch或MacBook Pro有朝一日可以改变的形状和质感,以发出触觉警报,以取代传统的通知。

苹果在专利当中表示,传统的通知是临时性的警报或信号,比如音频或振动警报,或者临时显示信息,比如短信。如果用户不回复短信,短信就会消失。这种传统的提醒方案可能会让用户或与用户相邻的各方分心。

在某些情况下,传统通知可能会分散用户的注意力,以至于用户关闭通知功能,导致错过接收紧急或关键通知。此外,如果在临时通知有效期内没有被确认,传统通知可能会被遗忘,因为通知经常会被存储在大量早期通知和数据中。

苹果表示与向电子设备用户提供信息的传统方法相比,触觉输出可以以一种侵入性更低、更能适应用户偏好的方式向用户提供信息。由于触觉的性质,触觉输出可以提供不需要用户的视觉注意力和/或不需要电子设备在用户视野范围内的信息。

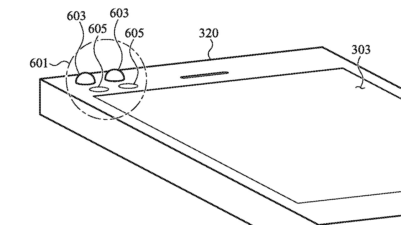
AirPod表面有一个微小的突起,或者你的MacBook Pro触控板获得一个略微隆起的粗糙表面,这个例子很容易想象。在这项专利的点上,苹果建议为Apple Watch做类似的事情,不过,Appe Watch会让底盘的一侧改变形状,以显示这种触觉提醒。不过,苹果公司建议,除了改变突起物,或者表面质地,这种触觉反馈也可以移动。触觉输出是通过激活和/或移动电子设备的一个或多个触觉特征来提供,触特征可以包括一个或多个可移动的部件,例如输入结构的输入/输出部件。

这感觉接近苹果已经实现的触觉反馈,特别是在Apple Watch中。但在这种情况下,这个想法是触觉特征可以沿着设备的表面移动,在设备的表面或从设备的表面中移动,旋转,预处理,改变形状,或其某些组合。

在大约2.6万字的专利描述中,苹果涵盖了这个想法的每一个可以想象的变体,包括用户如何能够看到这样的表面变化,或者看不到。在某些实施例中,触觉输出可以是触觉可感知的,但视觉上是无法感知。

查看网友评论   返回完整版观看

返回上一页  首页 | cnbeta报时: 02:59:26

文字版  标准版  电脑端

© 2003-2026