返回上一页  首页 | cnbeta报时: 12:20:52
新专利显示苹果可折叠iPhone可能使用高亮度像素来预热柔性显示屏
发布日期:2021-03-10 00:40:16  稿源:Win10s.COM

最初的可折叠智能手机浪潮遭遇了一些有关其灵活性的问题。虽然这促使生产商重新思考设计,以解决最初的问题,但仍有更多的情况需要解决。其中一个问题可能是温度对材料的影响。温暖的温度可以让塑料和其他材料变得更加灵活和可塑性强,而低温则会产生相反的效果,使其柔韧性降低。

对于像智能手机这样具有柔性显示屏的设备来说,这可能会对屏幕造成灾难性的影响,因为它可能会以更高的速度疲劳。这可能会导致更刚性的显示屏容易出现裂缝,最终可能导致其破裂。这可能不仅仅影响到屏幕的主材料,粘合剂和其他中间元素也可能受到寒冷天气的影响。

在美国专利和商标局周二授予苹果名为 "具有柔性显示屏的电子设备 "的专利中,苹果表示可以通过简单地加热显示屏来解决这个问题。传闻中使用柔性显示屏的iPhone Fold或iPad可能会使用新技术,通过使用加热元件甚至是显示屏本身的像素组合,在弯曲屏幕之前对屏幕进行加热,防止显示屏因寒冷天气而变得太脆。

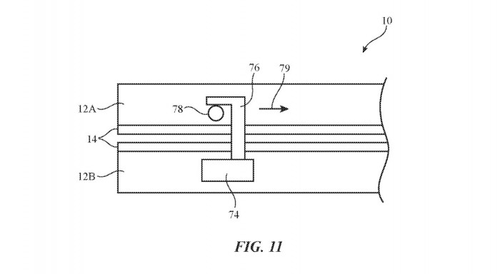
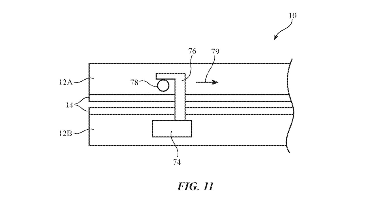
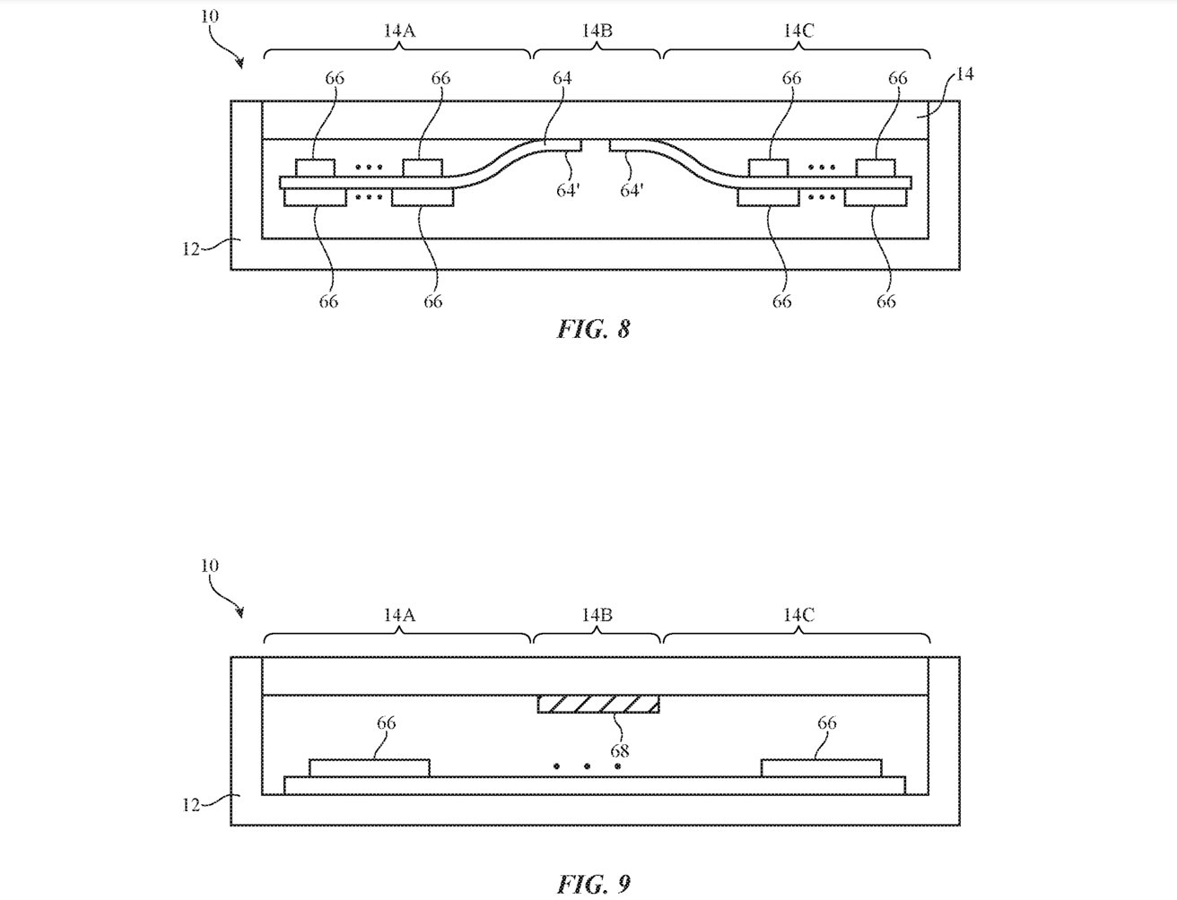
当屏幕遇冷时,一个锁扣可以防止可折叠iPhone被打开。机载传感器可以确定设备的温度是多少,以及显示屏在当前状态下弯曲是否安全。如果屏幕不能移动而不造成潜在的损坏,系统可以可行地警告用户危险,以及引入一个物理屏障。苹果在专利当中表示可以采用一个闩锁来保持智能手机的封闭性,直到屏幕温度高到足以安全弯曲。该系统可以使用一个致动器将锁扣固定在原地,并在不需要时将其脱离。

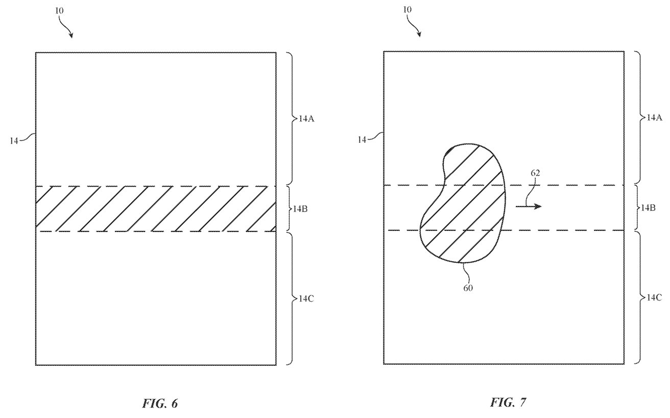
至于固定显示屏本身的温度,苹果建议可以有几种方法。最简单的是在显示屏潜在的最薄弱点下方增加加热元件。然而,这样做会影响设备的设计,因为它可能会迫使物理设计变得更大,以纳入新的组件,。苹果还建议一个更好的想法是利用显示屏本身。由于屏幕会发出光,它也可以发出热量作为副产品,这些热量将被应用到显示屏上。

传感器可以确定屏幕中可能需要这种热处理的区域,然后可以让那个地方的像素和周围的区域变亮,以最大限度地产生热量。还有人提议屏保和其他图形系统可以通过这样的方式长期向脆弱的显示区域提供热量。

苹果每周都会提交众多专利申请。虽然专利申请的存在表明了苹果研发工作感兴趣的领域,但它们并不能保证这些概念会出现在未来的产品或服务中。

查看网友评论   返回完整版观看

返回上一页  首页 | cnbeta报时: 12:20:52

文字版  标准版  电脑端

© 2003-2026