在转向全功能 USB-C / 雷电接口之后,苹果 MacBook 笔记本电脑用户仍对曾经 MagSafe 磁吸充电接口念念不忘。近段时间,有消息称 2021 款的 MacBook Pro 或重新引入 MagSafe 充电器。此外 Apple Insider 发现,近日曝光的一项新专利,暗示了传说中的无端口 iPhone 也有望配备 MagSafe 连接器。

(图自:Apple 官网)
MagSafe 的核心理念,旨在通过磁吸的方式来精准定位和插拔 MacBook 上的充电器。除了能够自动对齐,还有助于避免在绊倒线缆时造成设备跌落的附加伤害。
从 MagSafe 连接器转到全功能 USB-C 端口,已经造成了消费者的一些忧虑,但也催生了某些第三方配件厂商来继续生产兼容产品。

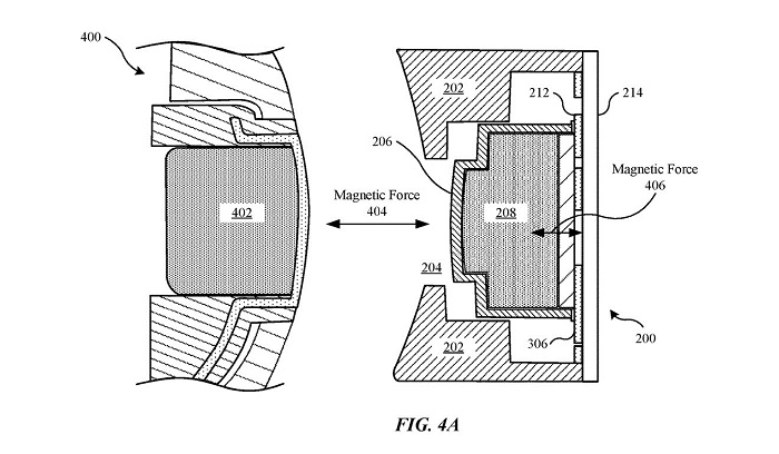
接触点通过磁力引导而重新定位的图片示例
有趣的是,周二的时候,美国专利商标局(USPTO)向苹果授予了一项“磁性表面接触”(Magnetic Surface Contacts)的新专利。
Apple Insider 指出,近期有传闻称苹果或推出无端口的 iPhone 设计,若通过 MagSafe 连接器取代持续多年的 Lighting 端口,还有助于增强 iPhone 的防水特性和提升美观度。

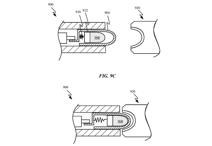
另一种采用凹凸(有盖)可移动磁性接触点的图片示例
此外据说苹果正在研究配套的软硬件解决方案,以在不使用传统物理数据电缆连接的情况下恢复 iPhone,进而再次为无端口 iPhone 设计铺平了道路。
据悉,早期 MagSafe 连接器也采用了一系列容纳于矩形截面的浅销组成,正如我们在 MacBook 机身侧边看到的专属凹槽那样。
凹槽中间的触点会与插头端的弹簧针脚紧密贴合,在维持正常充电功能的同时,还能够在受到瞬时作用力(比如绊到线缆)时轻松分离。

插图中也描绘了无端口 iPhone 的 MagSafe 连接器方案
在这项最初于 2018 年 4 月 10 日提交的新专利中,苹果描绘了多种连接器外形,甚至考虑到了通过浮动触点、结合磁力和弹簧,将之固定在插头中。
在允许自由移动的同时,还可保持连接的状态。但在概念的原理上,它与早期的 MagSafe 连接器并没有区别。
当然,这并不是我们首次见到苹果有意改进自家设备的连接器。比如早些时候,该公司就提出过用于防水密封的可压缩护套、以及一种限制电缆磨损的新方案。