返回上一页  首页 | cnbeta报时: 21:43:30
专利文档显示微软Surface可能会迎来可更换的外壳组件
发布日期:2021-02-12 22:39:14  稿源:Win10s.COM
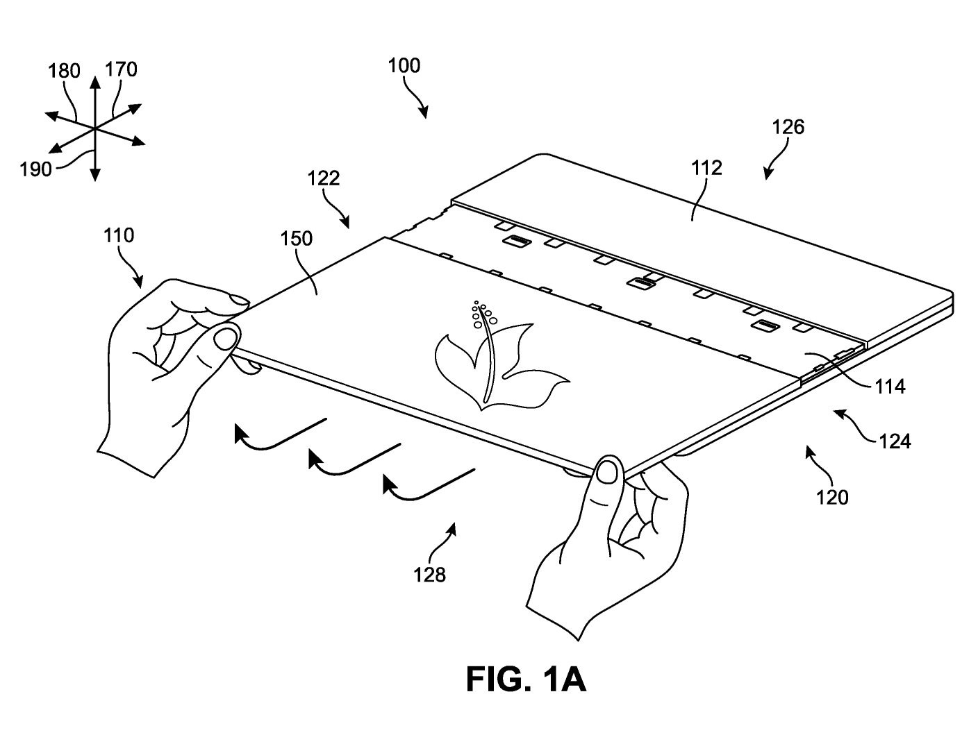
微软在其Surface系列设备上下了很大的赌注,从长远来看,直到现在,Surface Pro和Surface Book等机型都是该公司在硬件市场上的先锋。毋庸置疑,Surface系列之所以能在市场上脱颖而出,是因为微软在更多的创新方面的投资,最新的消息是Surface机型有望获得可更换的背壳组件,让用户可以根据自己的喜好轻松定制设备。

microsoft-surface-could-at-one-point-come-with-interchangeable-backs-532154-3.jpg

当然,这样的功能也可以实现新的硬件功能,虽然现在,微软在专利中解释说,其新发明是针对计算设备的,不一定是针对Surface。但鉴于Surface是微软的头号硬件产品,不用说它也会是采用新技术的产品之一。该专利名为 "用于便携式计算设备的可更换外壳组件",正如德国网站WU指出的那样,该专利的日期为2021年2月2日。

专利细节描述如下:

"用于便携式计算设备的显示外壳的可互换外壳面板组件。可互换的外壳面板组件可由用户快速安装,以定制其计算设备的外观,并且当需要时,也可从计算设备中快速移除。第二可互换外壳面板组件可以安装在同一计算设备上,改变其计算设备的外观。当需要时,可以移除第二可互换的外壳面板组件,并且可以重新安装第一可互换的外壳面板组件,将计算设备恢复到其先前的外观。外壳面板组件和计算设备包括便于拆卸和安装组件。"

毋庸置疑,这个想法还处于专利阶段,所以是否能进入量产阶段还有待观察。

查看网友评论   返回完整版观看

返回上一页  首页 | cnbeta报时: 21:43:30

文字版  标准版  电脑端

© 2003-2026