返回上一页  首页 | cnbeta报时: 17:13:05
新专利显示苹果汽车可能会识别人们指挥交通的手势
发布日期:2021-02-03 03:30:29  稿源:Win10s.COM

苹果公司正在研究如何让未来的 "苹果汽车 "正确识别并回应在事故现场指挥交通的人。 苹果公司可能仍然拒绝确认它计划制造一辆汽车,但有关汽车的证据洪流仍在继续,新近获得了三项专利,其中包括一项关于对正在指挥交通的人类做出反应的专利。

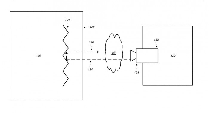
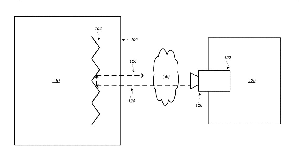
苹果名为"交通方向手势识别"的专利,涉及"苹果汽车 "中的传感器,以及在某些情况下如何正确解读这些传感器的数据。苹果在专利当中表示,车辆安全改进和对车辆自动导航和控制的兴趣上升,导致了在车辆上安装不同类型的遥感设备,自动导航和控制系统可以处理由传感器收集的数据,以检测和描述环境中的物体,以实现各种目的。

该专利描述了一系列的传感器,以及通常可以对收到的数据采取的一系列行动,但随后指出了当前系统的局限性。当前的自动驾驶车辆系统通常会在意外的交通变道或任何其他非典型驾驶情况下将控制权返回给驾驶员,这些系统都没有解决行人可能手动指挥交通的意外交通变道问题,例如由于事故、特殊事件或道路危险等原因造成的人类交通指挥手势。

因此,苹果提出的解决方案是加入传感器,可能会收集车辆附近的行人数据,并对其进行分析,以识别交通分流状况,其中包括识别出一个使用手势或标志指挥交通的交通指挥者,并且做出相应反应。

苹果表示,这些手势可以被车辆解释和理解为执行与交通分流相关的操纵命令,包括停车、减速或转向绕行路线,车辆可以配备命令确认装置,用于向交通主管确认车辆对交通分流条件或操纵命令的理解。这项专利归功于Sayanan V. Sivaraman,他曾是大众汽车公司的数据科学工程师。他为苹果公司所做的工作包括一项关于车辆根据道路和交通状况自动改变车道的相关专利。

查看网友评论   返回完整版观看

返回上一页  首页 | cnbeta报时: 17:13:05

文字版  标准版  电脑端

© 2003-2026