返回上一页  首页 | cnbeta报时: 18:40:07
新专利显示苹果汽车可能会自动配置座椅 同时保持显示设备私密性
发布日期:2021-01-27 02:13:15  稿源:Win10s.COM

"苹果汽车 "是一款传闻已久的产品,它的研发时间已经相当长了,之前的报道称,它正式推出的时间可能不会太长。据悉,苹果正在与现代子公司起亚进行谈判,以制造可能在2024年推出的汽车,而 "测试版 "可能会在2022年浮出水面。

作为一款被认为包含电动传动系统和自动驾驶系统的汽车,"苹果汽车 "预计还将有许多其他激进的设计,影响其外观和实用性。在美国专利和商标局周二授予的一对专利中,苹果提供了该车可以与众不同的方式,无论是在隐私方面还是在驾驶者的舒适度方面。

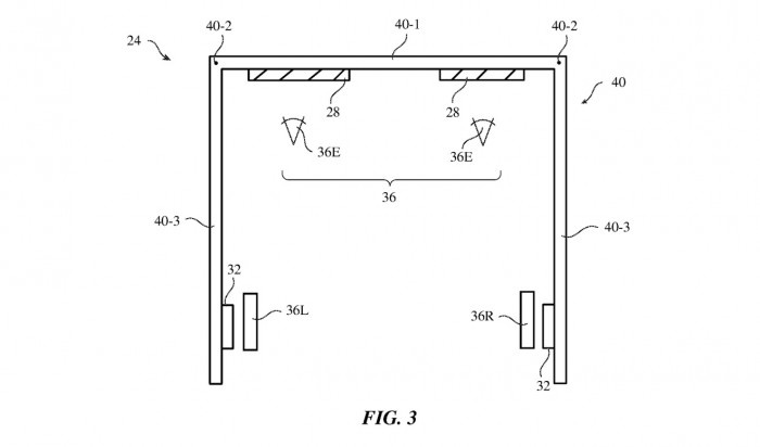
第一项专利涉及与车内显示器有关的问题。与模拟表盘或其他非发光元件向驾驶员提供信息不同,显示屏通常会发出光,并且有可能被其他道路使用者从车外读取。此外,对于车内娱乐来说,如果只有一个屏幕,乘客可能不想观看相同的内容。拥有多个显示器可能是一个昂贵的解决方案,但也可能导致用户有更小的屏幕来观看,而不是更大的共享屏幕。

这项名为 "多用户显示系统 "的专利,旨在通过谈利用一些3D电视探索出的概念来解决这两个要素,这些电视使用了特殊的眼镜。车内的乘客可以戴上使用液晶光调制系统的眼镜,即一个主动快门系统,让光线通过。这个系统与显示系统同步,只在眼镜的快门打开的时候才允许发出内容。这佩戴者不会观察到快门的打开或关闭,但可以看到内容。

为了使系统具有私密性,苹果建议,对于眼镜中的快门关闭的时间,系统同样会显示其他虚假内容,使得没有同步眼镜的外部观察者无法读取用户可查看的内容。这个概念可以扩展到考虑到为多个用户和独特的内容。通过调整眼镜的时间偏移,这意味着系统可以在一个用户的快门打开而另一个用户的快门关闭时显示一组内容,然后切换显示不同的内容,以配合相反的快门安排。

共享汽车的司机必须面对的一个问题是,上车后需要改变自己在车内的坐姿。改变椅子的位置、方向盘的高度、后视镜的位置等元素可能都要更新,既要保证驾驶员的安全,又要保证舒适度。在第二项名为 "自动配置自我配置环境 "的专利中,苹果公司提出,通过将整个过程自动化,可以大大简化驾驶员改变这些和其他项目的过程。苹果的解决方案涉及使用一个可以携带多种配置设置的移动设备,车辆可以通过无线连接读取和解释这些配置,从而改变车内元件的位置。实际上,它可以在检测到有司机接近车辆时自动配置车辆。

查看网友评论   返回完整版观看

返回上一页  首页 | cnbeta报时: 18:40:07

文字版  标准版  电脑端

© 2003-2026