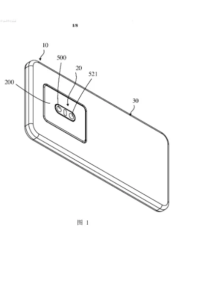
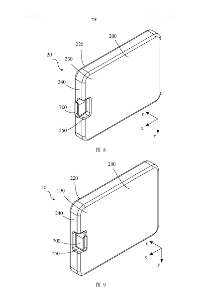
世界知识产权局(WIPO)网站上出现了一项OPPO专利,一款带有可拆卸摄像头模块的智能手机引发不少人的兴趣。专利图片和描述显示,这款潜在的未来智能手机将拥有一个后置摄像头模块,它可以从通过USB-C接口连接的背板上拆卸下来。
该相机模块拥有两个传感器和一个药丸状的LED闪光灯,但如果它成为现实的话,我们可以期待一场手机拍照领域的革命 - 商用机型中像单反相机一样配备且让用户自由更换更多的手机镜头。此外,位于模块上的USB-C连接器已经被证明至少可以弯曲两个角度(90度和180度),这意味着它将拥有以多个角度拍摄图像和视频的灵活性。






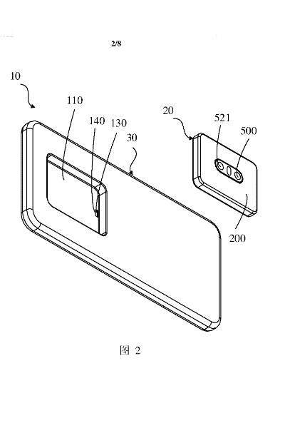
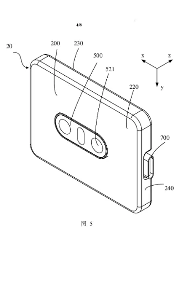
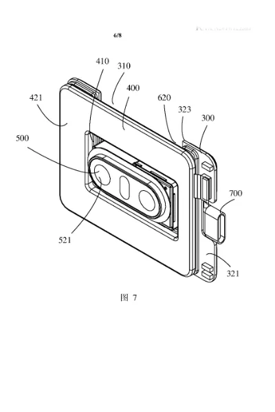
从WIPO的图片中可以看出,除了模块化的相机单元外,手机的正面和背面可以拍照的。摄像头模块将包括摄像头传感器、一块柔性电路板和一个Type C连接器。说明中还提到,相机模块的主板还可以包括Wi-Fi、蓝牙和NFC,用于远程通信。该模块还可以有一块锂电池,可以随时充电。这样的智能手机什么时候推出谁也不知道,但像这样的模块化智能手机设计不仅可以减少设备所需的组件数量,还可以使可更换/升级的摄像头单元成为可能。当然目前我们也还不清楚这种产品的市场会有多大。
OPPO在几周前展示了未来感十足的X 2021智能手机,它的卷轴可滚动显示屏可以扩展,轻松将6.7英寸的智能手机变成7.3英寸的平板电脑。这个曾多次申请专利的设计花了几年时间才走到概念手机阶段。不过,这款智能手机的商业化发布已经箭在弦上,所以带有可拆卸摄像头的智能手机也大有希望成为现实。