Apple Insider 报道称,苹果或使用充液镜片方案,改善视力不佳用户的 AR / VR 体验。对于习惯了戴框架眼镜的用户来说,头戴式装置的体验可能并不友好。而通过自动调节放置在用户眼前的镜头,传说中的苹果智能眼镜或可让 AR / VR 用户看得更加清晰,同时也能改善长时间近距离观看状态下的舒适度。

资料图
据悉,某些高级的 AR / VR 系统,已经引入了可调节的镜片机制。比如改变镜片之间的距离,以迎合佩戴者的瞳距和双眼焦距,或者直接支持可更换的光学镜片。
有趣的是,在一项名为《带有可调镜片的电子设备》的专利中,苹果提到了一种基于单镜片的新方案。通过流体和压力来快速调节可伸展的镜片,以相应减少用户的工作量。

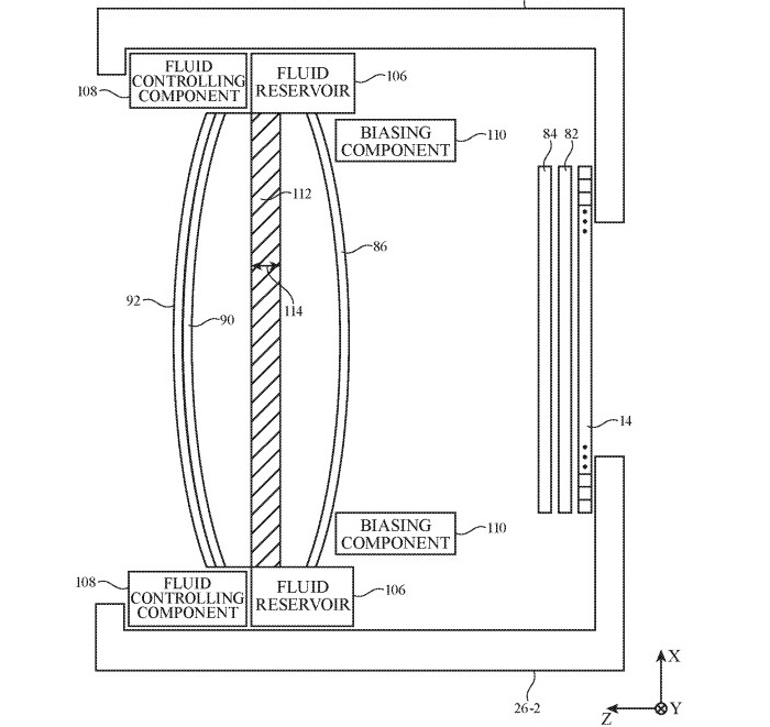
充液可改变柔性镜片的厚度
如图所示,充液泵可在必要时向腔室泵送或抽出液体,进而推出镜片或使其弯曲。如此改变镜组的光学特性,即可适应更多用户的使用需求。
根据镜片布置的不同,各种元件可以形成折反射,厚度则取决于液体的填充部分。此外通过在柔性镜片周围配备多个执行器,还可对镜片的形状展开更精细的调整。

苹果于 2019 年 7 月 23 日提交了这项专利
有消息称,苹果公司正在研发某种形态的 AR / VR 头戴式装置,许多人猜测它就是传说中的 Apple Glass 智能眼镜。至于真相究竟如何,仍有待时间去检验。