返回上一页  首页 | cnbeta报时: 04:11:50
新专利显示Apple Watch表带可以提供隐藏式电池 增强健身追踪功能
发布日期:2020-12-02 02:19:21  稿源:Win10s.COM

苹果打算提升Apple Watch电池寿命,以及增加更多传感器。美国专利商标局周二授予苹果公司两项专利,两项专利中的第一项,简单地命名为 "电池表带",从它所提供的内容来看,非常简单明了。实际上,这是一个可以容纳多个电池的表带,它以某种方式与Apple Watch相连。

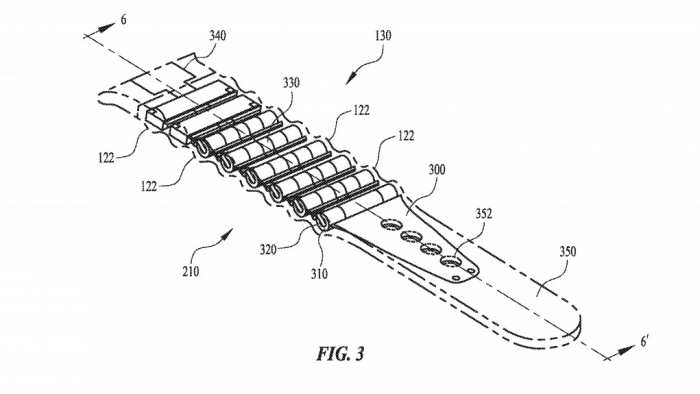
苹果在专利当中表示,表带中包括多个相互平行的电池单元,安装在沿着用户手腕下方的表带部分当中。通过使用间隔稍大的多个电池,表带仍能弯曲移动,而不用担心损害电池。表带本身将有一个带有插槽的内框,用于接收电池,并配有锥形凸起,以保护电池,同时减轻表带两侧的体积。整个组件采用外罩。每块电池之间也是物理隔离的,这有可能使维修时的更换更加简单。电池通过连接器内的针脚与Apple Watch连接,连接器可滑入主机底部的插槽中。

苹果表示,这种电池可以无线充电,其中一节电池上缠绕着线圈,用于给表带中的所有电池充电。虽然主要描述涉及典型的由橡胶、硅胶或其他类似材料制成的柔性表带,但苹果也提到了金属表带,在这种特殊情况下,电池被固定在单链接中,并被包裹在弹性包壳当中。

第二项专利名为 "基于织物的可拉伸表带项目",解释了如何用可拉伸的织物制成手表表带,,以最佳地贴合用户。鉴于这是一项Apple Watch专利,这一般会被认为是手腕,但它确实可能扩展到身体其他部位。该表带由 "环形可拉伸织物条 "制成,可以包括导电线和其他电路,可以连接到各种传感器和其他组件。自然,这可以包括用于测量身体的传感器,如心电图、血压、呼吸频率、温度等的传感器。

通过使用可拉伸材料,该表带适合各种高矮胖瘦的用户佩戴,此外,它还能够将传感器紧贴身体,从而进行精确的测量。据悉,这种面料能够承受 "相对较高的温度",该专利将其定义为 "与衣物洗涤相关的温度",这可能意味着这种可拉伸表带可以让Apple Watch使用超级电容器来代替电池进行能量储存。

查看网友评论   返回完整版观看

返回上一页  首页 | cnbeta报时: 04:11:50

文字版  标准版  电脑端

© 2003-2026