返回上一页  首页 | cnbeta报时: 05:41:05
未来的Apple Watch可能会在用户更换表带时进行识别 并跟踪使用情况
发布日期:2020-08-28 07:47:46  稿源:Win10s.COM

据外媒报道,只要换上另一条表带,可能就足以让未来的Apple Watch重新配置设置,开始跟踪用户的表带使用情况。五年来,Apple Watch 表带一直是Watch 体验中相当“静态”、不变的部分。“(Apple Watch)电子设备可以通过执行特定的功能来响应特定表带的识别,”苹果在新的专利申请中说,“比如改变用户界面的某一方面或改变电子设备的设置。”

37375-70150-000-lead-Apple-Watch-bands-xl.jpg

“识别可穿戴电子设备的表带 ”仍然没有改变表带本身的功能--这里没有提到额外的传感器等--但确实改变了使用它们时发生的事情。具体来说,当用户把一条表带换成另一条表带时,这个专利申请称,Apple Watch应该能够分辨。

除了能够检测到表带何时连接或分离,苹果还希望Apple Watch能够识别出正在使用的表带。而在识别了表带之后,手表应该以某种方式使用这种识别。

“(Apple Watch)在识别出一条表带后,可以执行各种其他的动作,”苹果说。“人们将认识到,检测到识别元素后,可以由电子设备执行任何相关的动作。”

"例如,在(手表)具有所需功能的情况下,电子设备启动应用程序、打开网站、启动计时器、显示信息、提供警报、与另一设备通信或其他功能,”它继续说道。

37375-70151-002-Detail-from-the-patent-xl.jpg

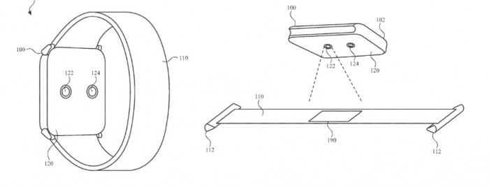
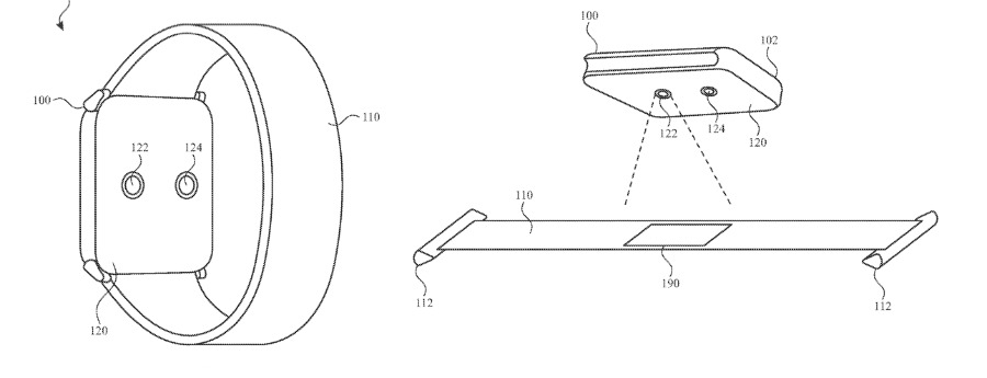
该专利申请的大部分内容涉及识别表带的不同方法。其中一些方法需要一个二维码,用户将其简单地放置在Watch的背面对面。

“例如,”专利申请继续说,“从光源发射的光可以从识别元件上反射。识别元件190可包括带上的图案,该图案可反射从光源发射的光的波长.。其可以是红外光、可见光(例如绿光)或另一波长值或范围。”

此外,Apple Watch或还可以记录用户使用任何特定表带的时间和程度。“被追踪的使用信息包括日期、时间、持续时间、地点、活动、用户的生物识别技术或与每个表带使用之前、期间或之后的时期有关的环境特征,”苹果公司提出。

这项专利申请由 Timothy M. Johnson提交。他之前的工作包括使用可穿戴设备进行健康研究的相关专利。

查看网友评论   返回完整版观看

返回上一页  首页 | cnbeta报时: 05:41:05

文字版  标准版  电脑端

© 2003-2026