返回上一页  首页 | cnbeta报时: 05:42:02
未来的AirPods可能会改用触摸传感器来控制而不是力道检测
发布日期:2020-08-28 00:29:27  稿源:Win10s.COM

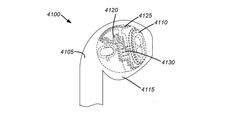
苹果正在研究将AirPods中的力传感器转变为电容式触摸系统,以使设备更容易控制,并提供新的选择。苹果在AirPods专利和专利申请方面的历史出奇的长,最新的一项涉及改善你通过触摸控制它们的方式。目前,要接听电话或跳过曲目,需要相当程度的轻敲耳塞或挤压柄部,但一个新的想法可能会改变这种情况。

新近曝光的一份名为 "带传感器的便携式监听设备 "的专利申请中,苹果表示,相关产品有一个外表面,定义了耳塞的形状,使耳塞的大小和形状至少部分插入用户的耳朵,也有一个定位在外壳内并邻近外表面的触摸敏感传感器。该触摸敏感传感器定义了在外壳外表面的一部分触摸敏感区域,并且被配置为响应于检测用户手指的触摸而产生交互信号。

苹果明确指出,触摸敏感传感器是电容式传感器,但是它没有详细说明这与目前的力传感器之间的区别,但描述了当用户触摸设备时,系统如何 通过电容的变化来检测接触。电容式传感器能够在被触摸时进行检测,而不需要压力或动作,因此未来苹果耳塞用户不再需要敲击或拉动耳柄。

苹果这项专利申请更关注的是这种传感器如何将数据路由到设备的具体细节,而不是这个想法的实际用途。但除了能够让用户触摸而不是按压设备之外,还可以利用该技术提供更多的控制功能。例如,如果耳塞能够检测到触摸,它可能也能检测到移动。因此,改变一对AirPods的音量可能只需简单地在其中一个耳塞表面滑动即可。

查看网友评论   返回完整版观看

返回上一页  首页 | cnbeta报时: 05:42:02

文字版  标准版  电脑端

© 2003-2026