返回上一页  首页 | cnbeta报时: 09:17:46
新专利显示苹果眼镜可以使用无线基站来负责图形处理
发布日期:2020-08-25 22:25:21  稿源:Win10s.COM

目前,增强现实和虚拟现实系统存在的问题之一是需要靠近一个正在进行大量处理的系统。来自头戴式耳机上传感器的大量数据必须被输入到计算设备中,然后计算设备必须对其进行解释,并将数据应用于渲染虚拟场景或物体,然后这些视频数据必须传递给显示系统,让用户看到。

紧凑型VR系统,如Google Cardboard和Oculus Go,通过将所有的处理过程带到头显本身,在一个独立的系统中,来解决这个问题。然而,这样做会增加用户在头上的负重。早期的VR系统和套件,如Magic Leap One,依靠将头显与一个独立的处理单元绑定。虽然这可以采取小型袖珍设备的形式,但通常采用台式计算机来改进图形处理。虽然这可以改善整个系统的视觉处理,以及减轻耳机重量,但副产品是存在可能被绊倒或以其他方式限制移动的电缆。

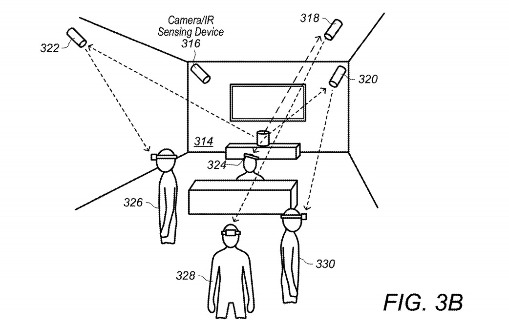
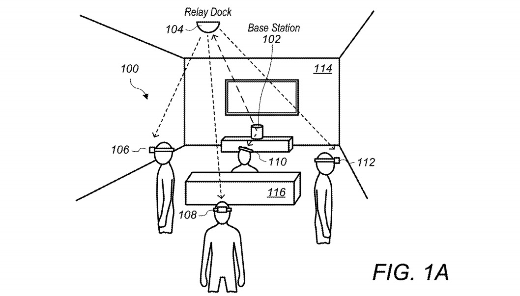
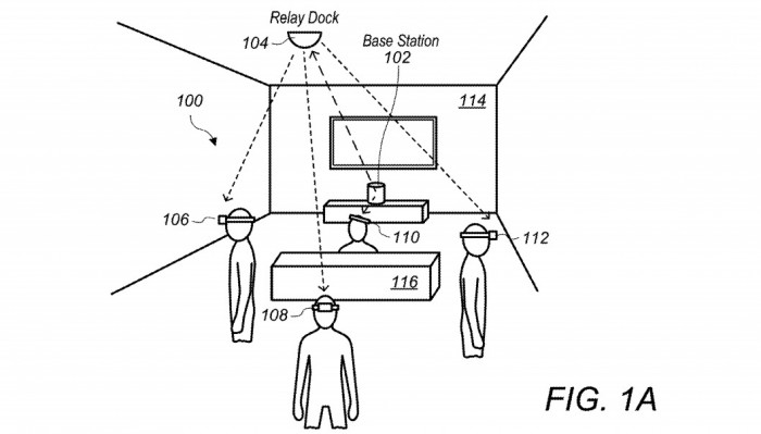
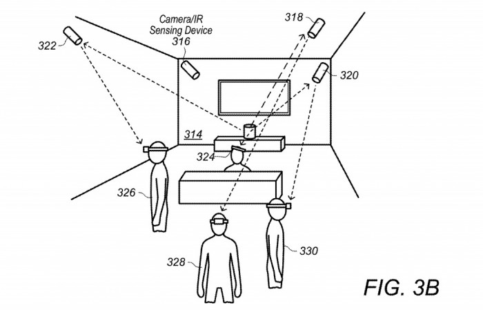
在美国专利和商标局周二授予的一项名为 "具有基于位置信息的定向波形成的中继基座和基站 "的专利中,苹果公司建议创造一种无线缆的头显,携带电池组进行供电,但数据则由无线通信处理。从本质上讲,该系统将依靠一个中继基座,用于VR或AR目的,同样,它也可以无线连接到另一个位置的基站。在永久性的设置中,基站和中继基座可以通过电缆连接,这可能是可行的,但该专利的主旨是关于中继基座和头显之间的通信。

对于在一个区域内有多个中继基座的系统,如较大的房间或仓库,基站将连接到它和目标用户之间最近的中继基座。让一个中继坞处理用户的入站通信,而另一个中继坞传输数据也是可行的,例如在向用户发送的信号可能被环境景物阻挡的情况下。

利用耳机上的传感器组合,例如摄像头、加速度计、陀螺仪、照相机和红外传感器,基座利用数据确定用户头显与它的位置关系。基座还可以有红外传感器,它可以使用耳机上的红外标记来帮助更准确地计算出用户的位置。知道用户的位置,以及他们的一般运动,可以让基站使用波束成形引擎向特定方向发送放大信号。波束成形可以最大限度地减少向用户广播信号所需的功率,同时也可以通过方向性使信号更加私密。

在多个用户的情况下,波束成形将有助于减少干扰的可能性,因为它不一定会向另一个用户的方向广播,保持空中通道的畅通,并帮助接收其他信号。苹果每周都会提交众多专利申请。但它们并不能保证这些想法会出现在未来的产品或服务中。

查看网友评论   返回完整版观看

返回上一页  首页 | cnbeta报时: 09:17:46

文字版  标准版  电脑端

© 2003-2026