返回上一页  首页 | cnbeta报时: 16:03:03
新专利显示Apple Watch未来可能会变得更薄并采用曲面传感器组件
发布日期:2020-08-21 01:13:08  稿源:Win10s.COM

苹果公司不仅希望将Apple Watch中健康传感器的效率最大化,还希望通过创造弯曲的传感器元件来尽量减少它们所占的空间,以便更好地适应外壳。苹果公司的一项新专利申请主要涉及如何在Apple Watch中部署某些传感器的具体细节。然而,归根结底,这其实是关于如何让手表变得更薄的问题。

在名为"具有弯曲层压膜光学传感器的电子设备 "专利当中,苹果表示,将光学传感器等传感器纳入电子设备可能具有挑战性。用于为电子设备提供所需功能的光学元件可能过于笨重或不美观,无法将其纳入电子设备中。

与所有的专利申请一样,这份专利申请试图涵盖所有的可能性,它说它涵盖了从笔记本电脑到 "包含嵌入式计算机的计算显示器",或者 "腕带设备、吊坠设备、耳机或听筒设备",等等。然而,这其实是关于Apple Watch,因为苹果在专利当中表示,可穿戴设备可以有一个可穿戴的外壳,光学传感器安装在其中,在操作过程中,来自光源的光可以穿过外壳的透明部分,可以从外部物体如手腕或用户的其他身体部分反射,并且可以在通过光控制构件后被光电探测器接收。

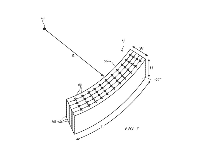
光控制构件可以布置在具有中心的环中,并且可以具有面向中心的凹面弯曲形状,来自专利的细节,显示了传感器可能是弯曲的一种方式。这是关键的部分,这种光传感器可能的排列方式,也可能是弯曲的,以占用尽可能小的空间。每个光控制件可以由叠层弯曲的光控制薄膜堆叠形成,堆叠的光控制薄膜可以使用具有弯曲表面的层压工具压成所需的弯曲形状。

查看网友评论   返回完整版观看

返回上一页  首页 | cnbeta报时: 16:03:03

文字版  标准版  电脑端

© 2003-2026