返回上一页  首页 | cnbeta报时: 16:06:47
[图]苹果新专利公示:未来Mac设备可在睡眠状态下执行任务
发布日期:2020-08-19 08:09:16  稿源:Win10s.COM

苹果一直在研究省电并增加便利性的方法,允许设备在睡眠模式下响应网络请求并执行一些低功耗的任务。如果你手头上有闲置的 Mac 设备,那么可以将其作为家庭服务器使用。这些 Mac 设备上有一个名为“唤醒网络访问”的设置,意味着可以在需要之前一直处于低功耗或者睡眠模式。

不过当你通过虚拟网络服务重新连接这台 Mac 设备的时候,它就会点亮屏幕。这不仅会打扰到同事或者家人,带来潜在的隐私问题,同时也是一种能源浪费。

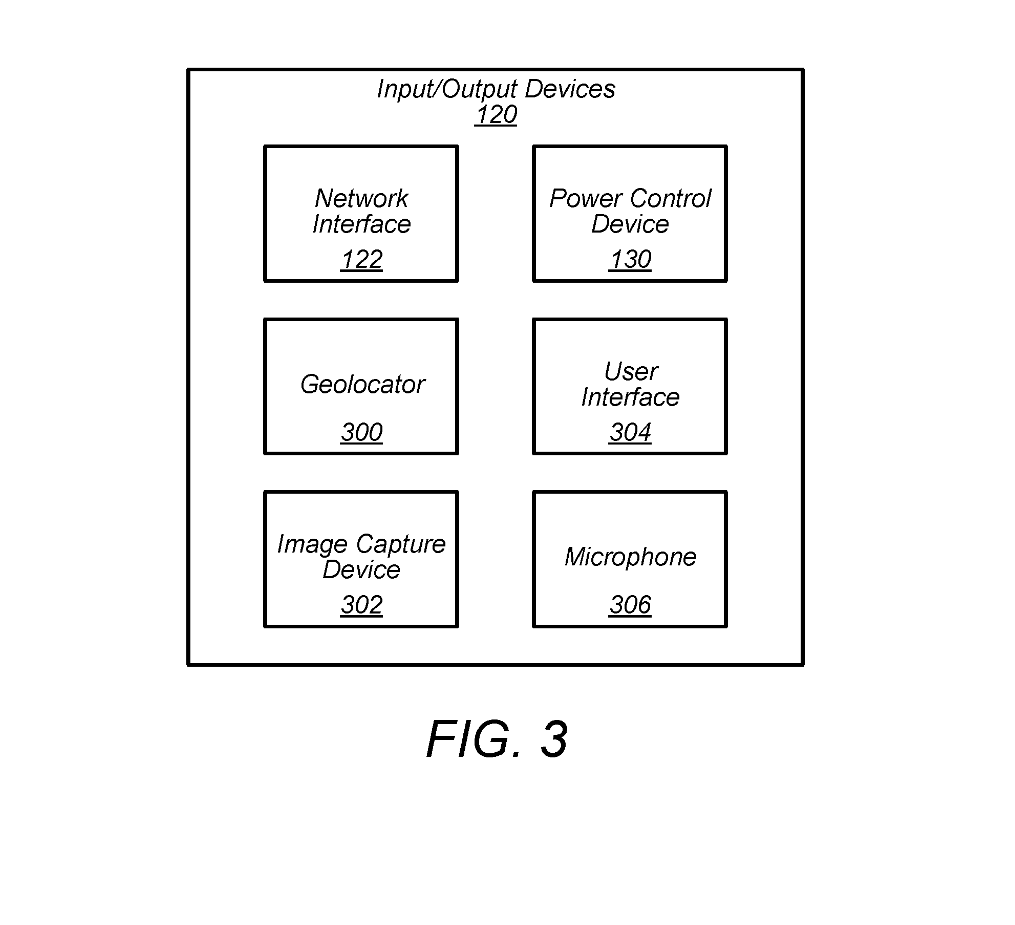
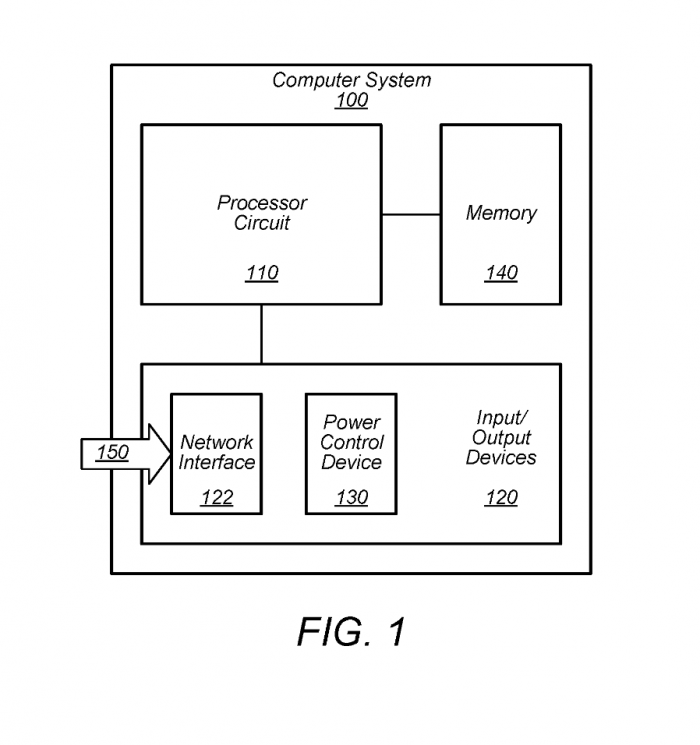
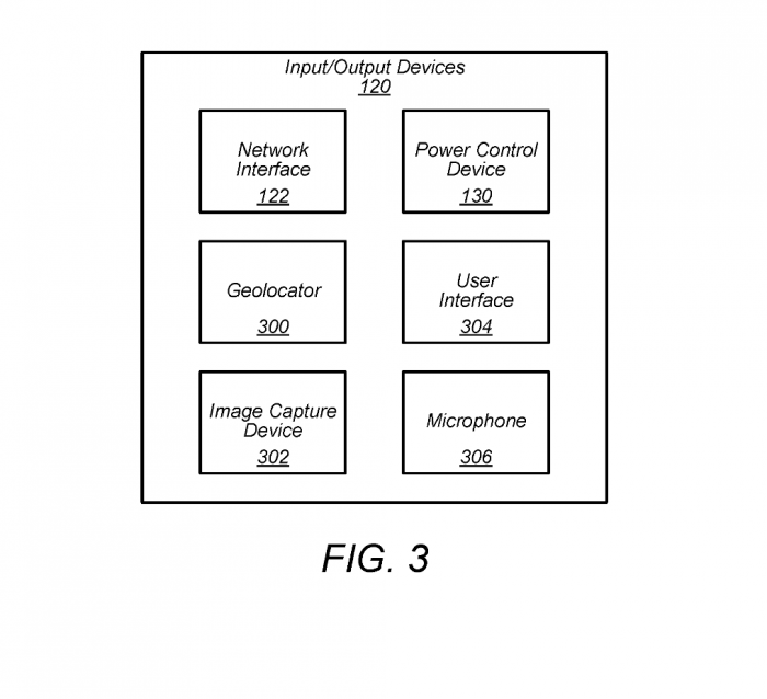
在一项苹果最新获得的专利中,展示了“在待机状态下控制计算机系统”,能够让远程 Mac 或者其他设备在不浪费能源的情况下执行任务。

在专利中写道:“今天使用的计算机系统通常有一个网络接口,允许与其他设备或系统进行有线或无线通信。这种通信可以响应于从物理操作计算机系统的用户接收的输入,以及响应于远程接收的输入。后者的功能允许远程播放声音,定位计算机系统等等。”

该专利中写道:“在待机状态下执行的示例性任务包括将一个或多个文件上传到远程计算机系统,从远程计算机系统下载一个或多个文件,从计算机系统中删除一个或多个文件,访问输入/输出设备,禁用计算机系统,以及对计算机系统进行内存检查”。

这意味着作为服务器运行的设备,能够不断做出反应而不是不断地从睡眠中启动。这将使运行 Apple Mail 服务器变得简单,并利用 Mac 更好的电子邮件规则,而不必让它不断地保持完全开机。

查看网友评论   返回完整版观看

返回上一页  首页 | cnbeta报时: 16:06:47

文字版  标准版  电脑端

© 2003-2026