返回上一页  首页 | cnbeta报时: 11:41:19
新专利显示未来Apple Watch Wi-Fi及无线天线或将嵌入显示屏中
发布日期:2020-08-04 23:04:01  稿源:Win10s.COM

苹果旨在通过创建一个集成在显示屏上的无线天线阵列,为Apple Watch带来更好的Wi-Fi和无线连接。苹果已经给Apple Watch提供了存储音乐的功能,最近还提供了自己的App Store。现在,它又迈出了一步,通过提高自身的Wi-Fi能力,让手表不再需要配套的iPhone。

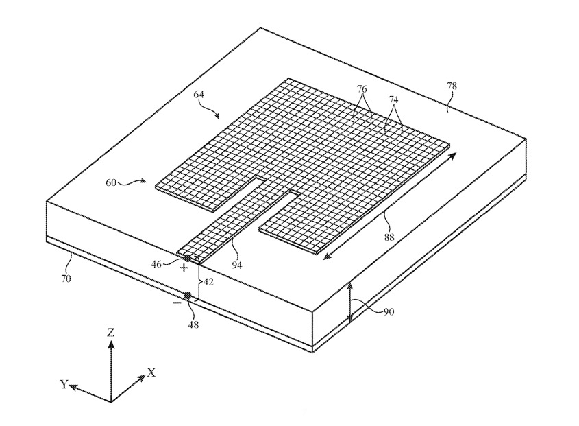
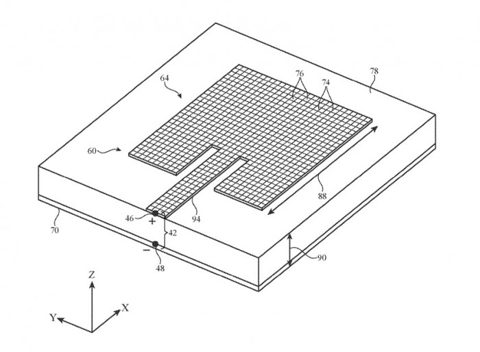
名为"由导电显示层形成的天线",这是一项苹果新获得的美国专利,它描述了改变Apple Watch的整个无线天线系统。从第一款Apple Watch开始,无线天线就一直是一个贴着设备边缘安装的纤细组件。它被定位在手表的边缘,通过利用该边缘与前脸和健康扫描器背面之间的缝隙来发挥作用。

这是一条细细的缝隙,而天线一直是一个特别小的组件,在一个极度紧凑的机箱内。现有的实现方式是可行的,因为Apple Watch可以接收Wi-Fi或无线网络信号,但iPhone相比,它的效果很差。苹果这项专利带来一个解决方案,天线可以嵌入显示模块内,该天线可以包括由屏幕介电层上的交错导电线网格形成的天线谐振元件。因此,与其说是一个狭长的天线,不如说是一整块网格,占据了显示屏的一部分或整个显示屏。显然,这将给天线带来更大的表面积,改善接收效果。

然而,Apple Watch显示屏必须能够作为该显示屏为用户工作,而且它还必须能够记录用户的触摸。苹果这项专利认为它可以一直做到这两点,同时还可以拥有这项新功能。Apple Watch显示模块被配置为通过盖层显示图像,并包括多个与盖层耦合的叠层电介质层,而天线被配置为通过盖层传输射频信号。

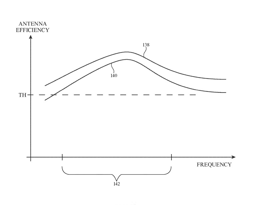
苹果的专利不厌其烦地声明,这项技术可以应用于任何数量的设备,从电脑到显示器,从iPad到耳机。不过,细节和图表都集中在Apple Watch上,并展示了新天线的各种位置。这些位置在水平和垂直方向上都有所不同。图中显示了可能的天线网格占据了显示屏的各个部分,还显示了可以放置在它们上面的不同层数。理论上讲,最佳的无线天线应该是一个实心的单元,位于显示屏的上方,并遮挡住它下面的一切。这显然是不可接受的,但苹果既提出了这项技术,又在显示器下方的位置上瞄准了一个甜蜜点。该专利指出,网格 "略微降低了天线效率",但指出它 "仍然表现出令人满意的天线效率"。

虽然苹果申请并获得了许多专利,但并不能保证任何一项专利都会在未来的产品或功能中产生。

查看网友评论   返回完整版观看

返回上一页  首页 | cnbeta报时: 11:41:19

文字版  标准版  电脑端

© 2003-2026