返回上一页  首页 | cnbeta报时: 11:41:53
新专利显示苹果研究曲面iPhone机身 采用环绕式显示屏
发布日期:2020-08-04 22:23:39  稿源:Win10s.COM

未来版本的iPhone可能会有一个环绕设备机身的显示屏,或者iPhone机身的形状可能会更圆润,苹果正在研究新的方法来制造一个可以安装在曲面上的显示屏。

智能手机和其他移动设备,一般来说,都是箱形结构。通常依靠一个大的平面作为显示屏,其余的设计通常由相互成90度角的侧面组成,这使得它们的设计、制造以及在其中添加组件都相对简单。这种形状可能并不是那么有利,因为苹果已经考虑到其他形状的产品,比如侧面更圆的管状外壳,可能更有效地将组件装入小体积。改用更圆润的设计会带来一些额外的问题,其中最主要的是显示屏。

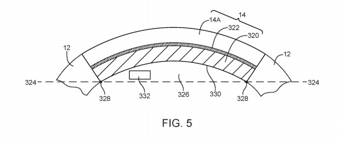
一个典型的显示器涉及到一叠结构,包括用于显示像素的薄膜晶体管层、用于给像素添加颜色的彩色滤光片层、用于允许触摸输入的面板以及盖玻璃层。虽然当堆栈在一个平面上时,对于结构来说很简单,但对于曲面或不平整的表面来说,要完成就变得很棘手。在美国专利和商标局周二授予的一项名为 "具有凸面显示器的电子设备 "的专利中,苹果公司提出,设备可以包括在弯曲平面外表面的显示屏,例如智能手机的机身。

简而言之,苹果建议可以在具有弧形的盖板之上,或者在刚性凸形显示器盖板层的凹面下方,添加一个或多个柔性显示器层。触摸传感器阵列堆叠在柔性显示层的顶部或下方,根据其结构的不同,一个面向外部的保护层或一个内部支撑结构完成了堆叠。专利的细节显示,显示屏可以由柔性OLED或LCD面板制成,刚性覆盖层或外壳可以是玻璃,而加强层可以由金属制成。显示部分也可以利用柔性聚合物基板,以便更容易应用到盖板和堆栈中的其他组件。层中的每一层都可以做得相当薄,柔性显示器和触摸传感器层的厚度可能在10微米到0.5毫米之间。

苹果每周都会提交大量的专利申请,但并不能保证未来的产品或服务会使用上述的专利。

查看网友评论   返回完整版观看

返回上一页  首页 | cnbeta报时: 11:41:53

文字版  标准版  电脑端

© 2003-2026