返回上一页  首页 | cnbeta报时: 13:06:08
[图]Surface Pen被赋予更多功能:可当无线鼠标和控制器使用
发布日期:2020-08-02 11:04:05  稿源:Win10s.COM

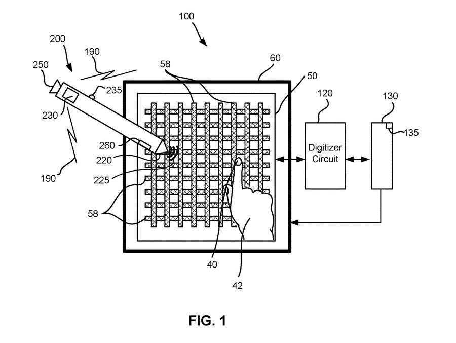
根据微软最新获批的技术专利,Surface Pen 手写笔将会被赋予更多的功能。根据专利描述,Surface Pen 可以在笔记本的掌托部分进行绘画或涂鸦,也可以作为无线鼠标和控制器使用。

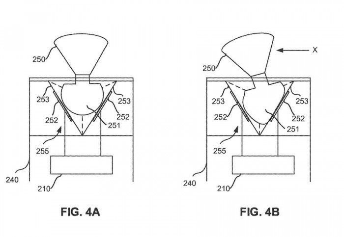
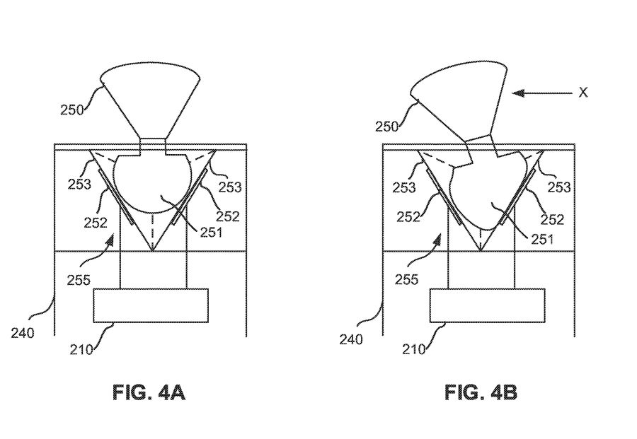
这项专利名称为“Multi-functional stylus”(多功能手写笔)[PDF],是由微软的高级硬件设计师提交的,于2020年7月23日获得美国商标和专利局的公示。微软表示,Surface Pen 的光学传感器可能会提供改进的鼠标功能,它可以被配置为跟踪触控笔在非触摸表面上水平定位时的移动。

这款手写笔还提供了鼠标右键和鼠标左键的按钮,并有一个传感条可以用来控制滚动,提供完整的滚动体验。触控笔的可选传感器将包括一个 LED,以检测表面(掌托区域)的二维运动。微软在专利描述中写道:“光学传感器可由触控笔的控制器,例如ASIC选择性地激活,控制器的唤醒指令可启动光学传感器的激活”。

查看网友评论   返回完整版观看

返回上一页  首页 | cnbeta报时: 13:06:08

文字版  标准版  电脑端

© 2003-2026