返回上一页  首页 | cnbeta报时: 14:42:01
新专利显示苹果未来移动设备可能会使用紫外线来保持清洁
发布日期:2020-07-31 01:47:01  稿源:Win10s.COM

为了保持未来iPhone或Apple Watch内精致和非常小的传感器清洁和完美工作,苹果正在研究利用热和光来分解污染物。在一对相关的专利申请中,苹果描述了Apple Watch或iPhone中某些类型的传感器如何能够利用自己的清洁系统。它们可以部署由紫外线产生的臭氧来推开甚至侵蚀和分解设备内部不需要的有机化合物。

苹果表示,许多移动电子设备都配备了传感器和换能器,如压力传感器、湿度传感器和气体传感器等等,使设备能够执行远比通信更多的功能。苹果公司此前曾研究过在iPhone上添加一种传感器的可能性,这种传感器可以检测有毒气体。

所有这类传感器的问题是,当它们必须暴露在空气中时,容易积累有机残留物,比如皮肤油脂、灰尘、体毛等。这些积累物会污染设备外壳和/或传感器封装,从而产生干扰信号,并导致传感器误差在长时间内不断增加。传统方法可以使用物理网.来防止灰尘或较大颗粒的积累",但这种方法可能并不有效,另一种想法是使用空气流动,让风扇吹过设备。然而因为它的尺寸、功率和噪音影响,这种方案对于移动设备来说可能并不理想。

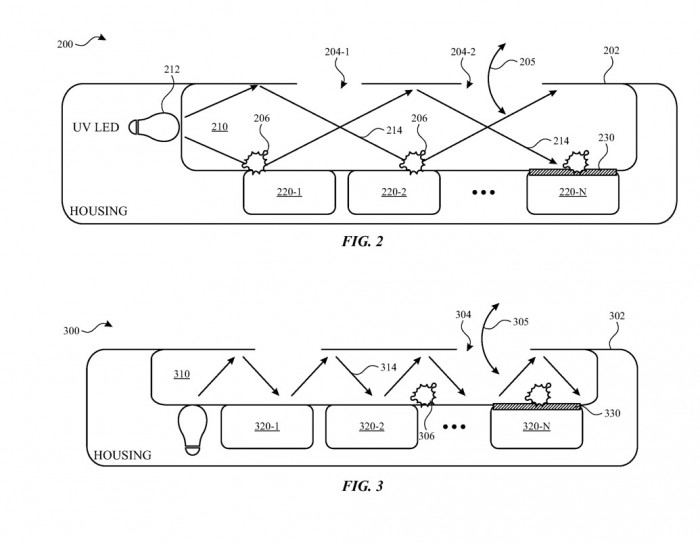
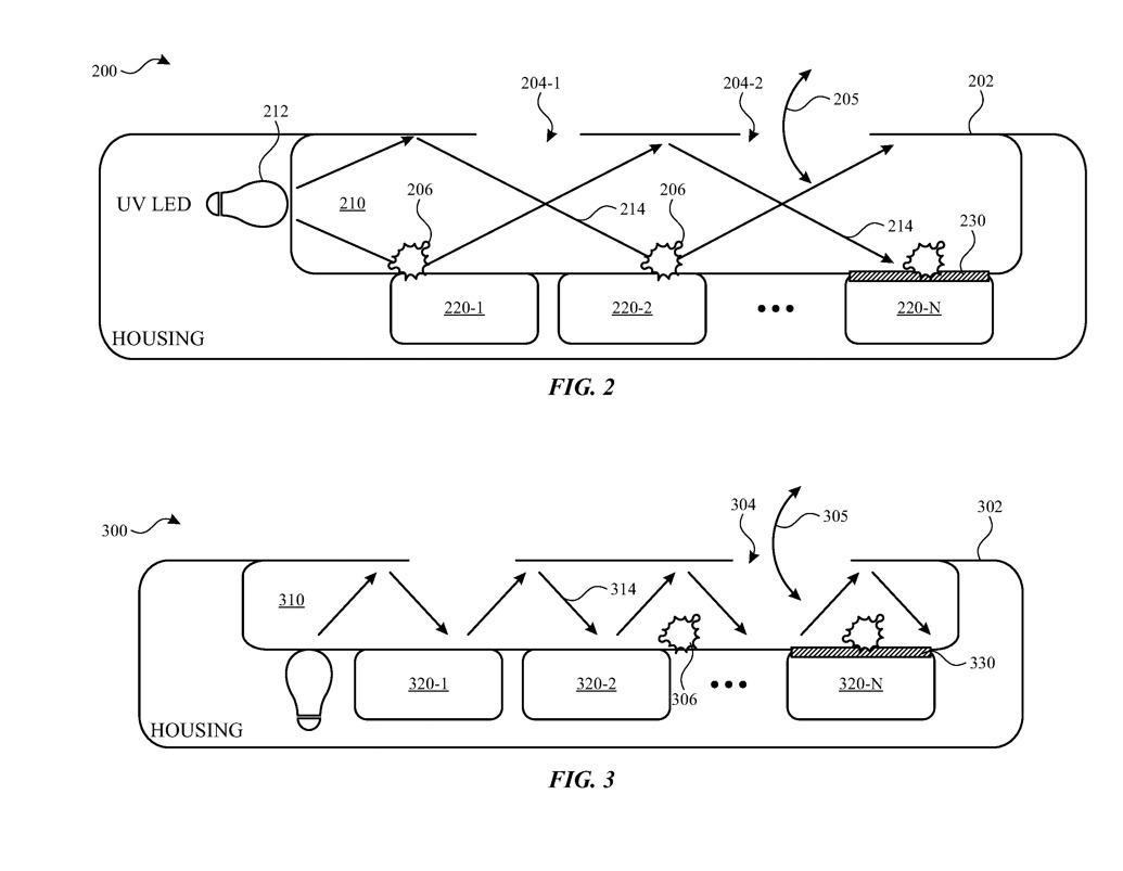
相反,苹果提出了一种系统,在产品外壳内部或传感器包装附近分解有机污染物,以恢复集成环境传感器准确读数所需的清洁环境,而该系统可以通过使用紫外线(UV)光来分解污染物。紫外线光线可以启动光氧化过程,从而导致人类皮肤带来的角鲨烯的分解,与紫外线反应后,角鲨烯被分解成三种副产品,它们对环境传感器没有危害。尽管紫外光可以是分解污染物,但紫外光会产生臭氧。因此,苹果还有一份专利申请,详细介绍了在小型设备内产生、控制和使用紫外线和臭氧的方法。

查看网友评论   返回完整版观看

返回上一页  首页 | cnbeta报时: 14:42:01

文字版  标准版  电脑端

© 2003-2026