返回上一页  首页 | cnbeta报时: 17:35:38
苹果新专利显示Apple Pencil可以通过振动和转移重量来增加触觉反馈
发布日期:2020-07-29 05:31:22  稿源:Win10s.COM

Apple Pencil作为一种实现方式,与iPhone或Apple Watch等其他物品有很大的不同,因为它不向用户提供触觉反馈。作为输入设备,它根本不提供任何形式的反馈,而是依靠配对的iPad或iPad Pro为用户提供某种形式的刺激。虽然在Apple Pencil上添加触觉反馈是可行的,但由于其形状薄、体积小,相对来说难度较大。此外,还有一个问题是如何创建一个不会严重干扰绘画功能的触觉反馈系统。

在周二获得授权的一项简单命名为 "Pencil haptics "的专利中,苹果研究了在外设上添加触觉反馈的可能性。典型的触觉反馈系统依赖于某种形式的电机,该电机被固定在设备的外壳上,并配备了一个手臂,一个一端比另一端更重的重量。通过旋转手臂,重物就会移动,设备的重心就会移动,从而产生振动的感觉。

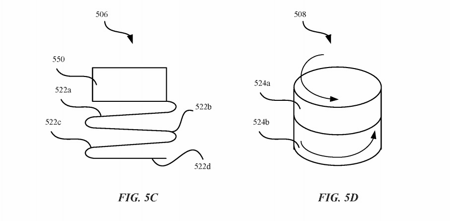
对于Apple Pencil,苹果提供了一些建议,让Apple Pencil抖动或给用户带来某种感觉。在大部分建议中,苹果的工作原理是Apple Pencil接收信号产生触觉反馈,而不是进行设备上的处理。在一些实施方案中,苹果公司建议可以使用压电元件在触控笔本体内部进行振荡,在外壳本身上感受到运动。这种振荡也可以通过使用多个压电盘来放大,这样可以极大地转移Pencil的质量,从而让人感觉到反馈。

这些圆盘的位置可以提供铅笔内部平衡的重量分布,因此它们的移动不会对重量产生很大影响,但仍然可以提供某种形式的感觉。理论上讲,这种系统对于Pencil在使用时是非常理想的,因为它有可能避免迫使用户的手写笔运动出现错误。在另一种系统中,压电柔性梁将装在外壳内,通过刚性支架与外壳相连。在梁的末端是一个重量载荷,一旦电流通过就能大大增强梁的运动。

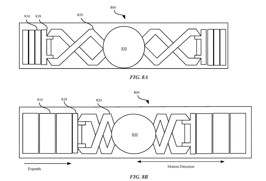
专利文件内的图片还表明,可能会有一些带有剪刀式机制的元件,可以在机身内膨胀和收缩。通过握住质量并改变其膨胀或收缩,这些元件可以移动铅笔的重量,使其在一端或另一端稍重。这种重量在两端之间的移动,用户会感觉到。铅笔重量的变化也不必快速发生,因为用户将能够感受到快速扩张和收缩的嗡嗡声,以及通过较慢的运动进行更渐进的变化。

苹果公司每周都会提交大量的专利申请,但并不能保证这些概念会出现在未来的产品或服务中。

查看网友评论   返回完整版观看

返回上一页  首页 | cnbeta报时: 17:35:38

文字版  标准版  电脑端

© 2003-2026