返回上一页  首页 | cnbeta报时: 17:35:41
苹果新专利显示未来AirPods可能会使用骨传导来改善音频
发布日期:2020-07-29 05:23:51  稿源:Win10s.COM

多年来,骨传导一直是人们不依赖于耳塞,使用耳机听音乐或接听电话的一种方式。骨传导设备不是通过空气传输声音,而是接触用户头部的特定点,将声音送入头骨并通过耳朵,在那里将振动转化为声音。这种系统有其好处,例如,可以使耳道自由,使用户在听到设备发出的声音的同时,也能听到环境的声音。在某些情况下,当耳朵受到损伤,无法正常使用耳机或耳塞时,它也很有用。在扬声器等基于空气的方法失效的情况下,例如用户在水下,它也有帮助。

骨传导有一些缺点限制了它的实用性,首先是它在高频下的工作能力。人类的听觉范围一般在20赫兹到20000赫兹之间,而骨传导只有在4000赫兹以下才真正有效,在更高的赫兹范围内,音频质量会变差。事实上,它需要与头部接触也是一个问题,因为它在高强度的情况下会让用户感到痒痒,佩戴起来很不舒服。

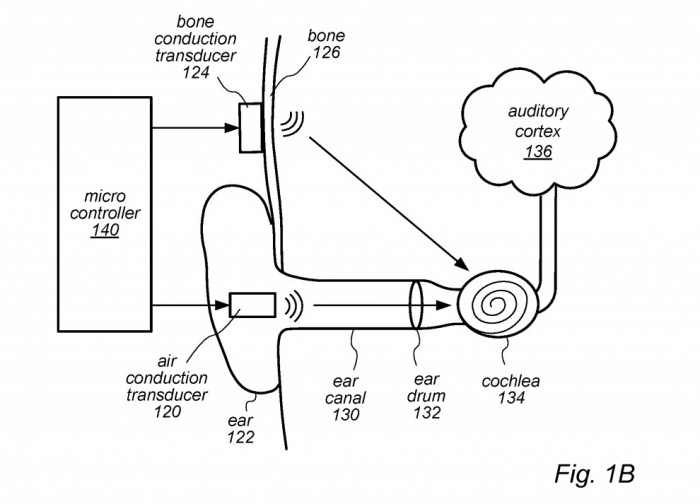
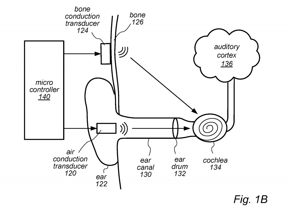
在美国专利和商标局周二授予苹果的一项名为 "使用音频压缩机的多路径音频刺激 "的专利中,苹果表示可以缓解骨传导的问题,部分是通过支持标准的空气传导方法,这显示未来AirPods的迭代可以利用骨传导技术,在各种普通耳机无效的情况下提供音频,所提出的系统将骨传导与普通的基于空气的声音传输相结合。

苹果表示,音频信号被过滤成三类,包括高频成分、中频成分和低频成分。中频分量和低频分量再使用压缩器进行处理,降低动态范围,然后组合成一个组合分量。这个组合信号由于由低频和中频信号组成,在它的实用范围内,然后通过骨传导的方式,通过用户的头骨发送。高频分量如果通过骨传导发送就不会有效果,而是采用正常方式通过空气送到耳朵里。

苹果公司确实建议,空气传导系统的构造不会阻挡耳道与其他音频源的联系,即它仍然可以让用户听到环境的声音。其结果是,用户在通过另一种方法接收高频声音的同时,还能享受到骨传导系统比环境音频的好处。在环境音频可能淹没高频声音的情况下,用户仍将通过骨传导获得中低频信号。

这不是苹果第一次研究使用骨传导技术。2014年和2015年的专利申请显示,它正在研究使用骨传导的无线耳机。尽管经过多年的努力,苹果尚未推出某种形式的骨传导产品,但其AirPods系列似乎是使用该技术的合适候选产品。

查看网友评论   返回完整版观看

返回上一页  首页 | cnbeta报时: 17:35:41

文字版  标准版  电脑端

© 2003-2026