返回上一页  首页 | cnbeta报时: 17:35:31
专利显示未来两台iPad可通过配件“合体”
发布日期:2020-07-28 23:40:15  稿源:威锋网

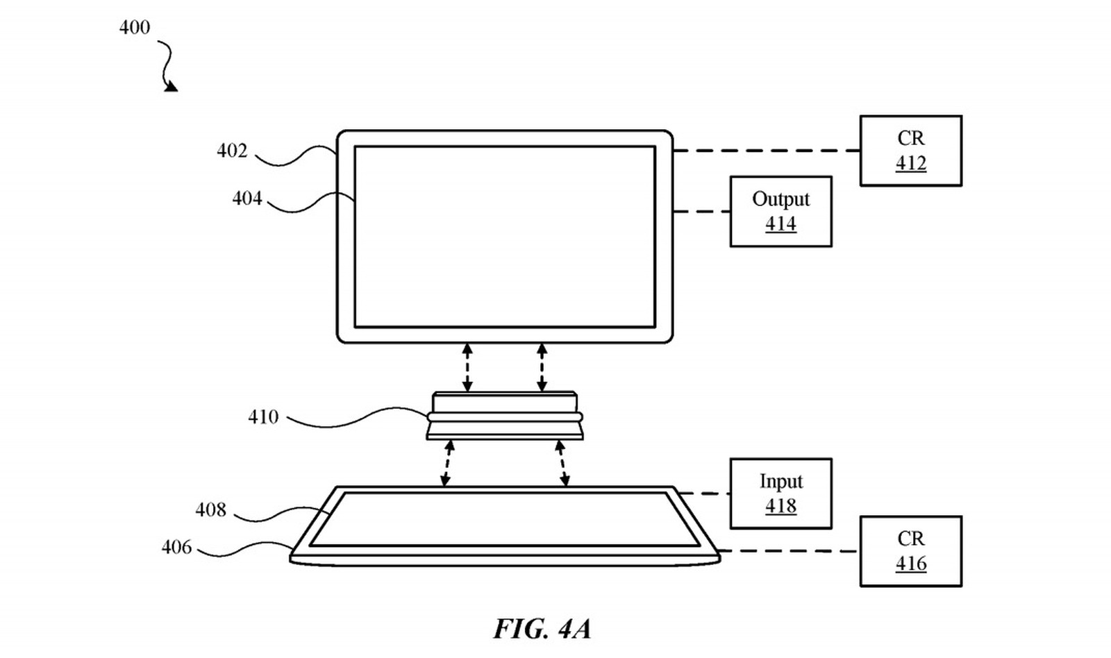
根据 AppleInsider 报道,近日公布的一项新专利申请显示苹果正在探索一种配件,该配件可以将两个 iPad 连接在一起以实现笔记本式计算机的功能。今天向美国专利商标局提交的名为“模块化的多个显示电子设备”的专利申请显示,当通过附件将两台 iPad 或 iPhone 连接在一起时,一台可以用作显示器,另一台可以用作动态键盘。


配件包括两个小连接器和一个铰链,连接器将促进设备之间的数据传输,以便它们可以作为一个系统协同工作。


专利申请中包含的图像主要表明,该配件将允许笔记本式的安装办法,一个设备在表面上平放,铰链连接器在其背面,以纵向或横向支撑第二个移动设备。

使用第二个显示器作为动态键盘将提供多种独特的解决方案,例如允许功能根据用户的需求进行更改,就像 MacBook Pro 的 Touch Bar 一样。但是,深度和触觉反馈可能会缺失。


除了笔记本式装置外,该专利还暗示,如果将两个设备沿最长的边缘连接,则它们也可以当作书本式装置,这似乎类似于 Microsoft Surface Duo 的布局。

如果这个功能实现,那么对于有多台 iPad 的朋友来说是不是很实用?

查看网友评论   返回完整版观看

返回上一页  首页 | cnbeta报时: 17:35:31

文字版  标准版  电脑端

© 2003-2026