返回上一页  首页 | cnbeta报时: 22:01:08
苹果眼镜可能使用传感器来测量佩戴者的压力或注意力
发布日期:2020-07-23 23:58:24  稿源:Win10s.COM

苹果之前已经申请了许多关于头戴式显示器的专利,至少可以追溯到八年前,而其最新的专利申请和其他申请一样严肃,语气也一样阴郁。但无论其提案的实际用途如何,苹果其实已经为拿出感应危险的头戴式显示器创造了可能。

在本周披露的苹果专利申请中,名为"带面部界面的头戴式显示器用于感知生理状况 "的苹果专利显示,苹果眼镜可以先记录佩戴者的生理状态,然后根据这些信息采取行动,改变显示屏上显示的内容。

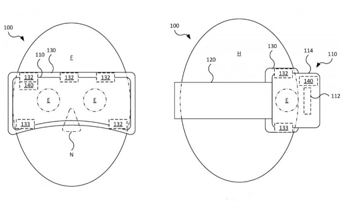
在一万多字的专利申请中,长篇大论地介绍了关于测量这种生理状态的精确细节,但对于具体的含义却相当简短。然后,它对其收集的信息的建议用途就更短了。苹果表示,一种头戴式显示器包括一个显示单元和一个面部界面,显示单元向 "苹果眼镜 "或其他类似设备的佩戴者呈现图形信息。

面部界面可拆卸地耦合到显示单元,并与用户面部的面部啮合区域啮合,由此显示单元被支撑在用户的面部上,面部接口包括生理传感器,用于感知面部啮合区域中用户的生理状况,这其中可以感知的内容包括力、温度、湿度、位移、电容、大脑活动(EEG)、肌肉活动和心率。

换句话说,当你在看 "苹果眼镜 "显示的任何东西时,眼镜本身也可能在看你,并衡量你的反应。其中一些用户反应可能会被第二个连接设备检测到,如iPhone等设备。这些用户反馈参数用于生理识别,评估用户的适合度,以及简单地输出生理信息用于其他目的,如个人健康监测,心里压力程度,多人健康研究,或尚未确定的用途,甚至是眼镜本身有没有佩戴到位。

可以想象,如果你的心率危险地升高,苹果眼镜可以向你显示最近的医院方向。或者,如果你真的站在沙漠里,苹果眼镜可以向你显示凉爽天气照片,舒缓心情,成为名副其实的危险感应型 "苹果眼镜"。

查看网友评论   返回完整版观看

返回上一页  首页 | cnbeta报时: 22:01:08

文字版  标准版  电脑端

© 2003-2026