返回上一页  首页 | cnbeta报时: 23:22:56
为无端口iPhone做准备:苹果新电池背夹专利获批 支持双向无线充电
发布日期:2020-07-21 09:14:54  稿源:Win10s.COM

援引外媒 Wccftech 报道,苹果近日获得了一项技术专利[PDF],概述了一种具备双向无线充电功能的电池背夹。在苹果此前申请的专利中,就有计划推出一款完全没有端口的 iPhone 设备。而配合这项技术专利,能够让电池背夹配合没有端口的 iPhone 进行充电操作。

sjsqopv1.jpg

现有的电池背夹主要是通过 Lightning 端口来为设备进行充电的。如果未来苹果计划推出完全没有端口的 iPhone,那么将不得不对保护套的设计做出一些改变,以提供双向无线充电。

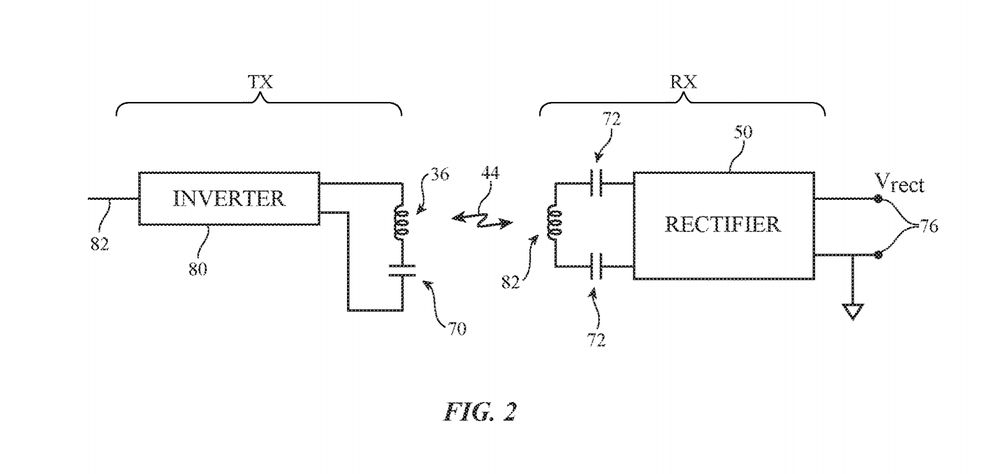
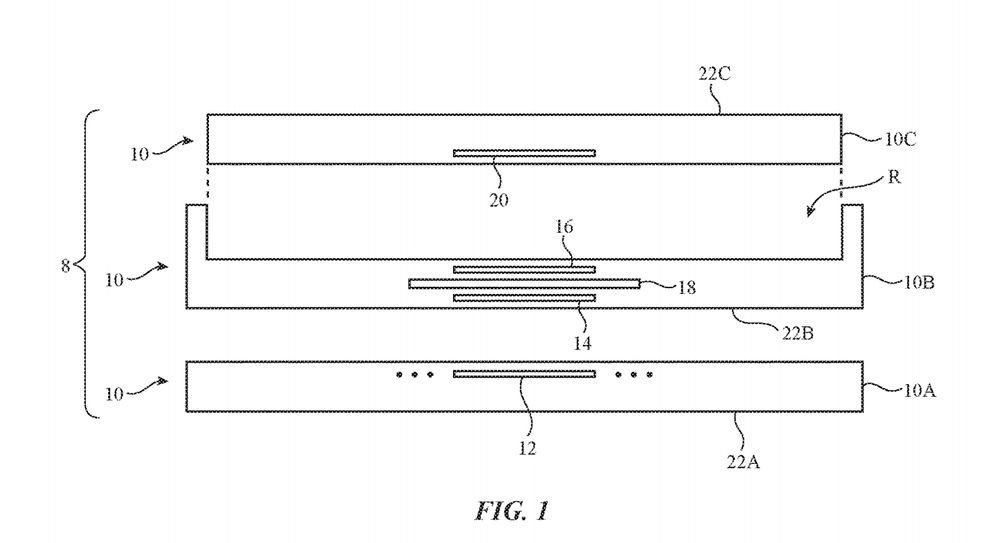
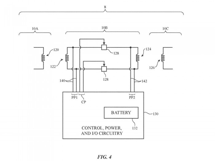
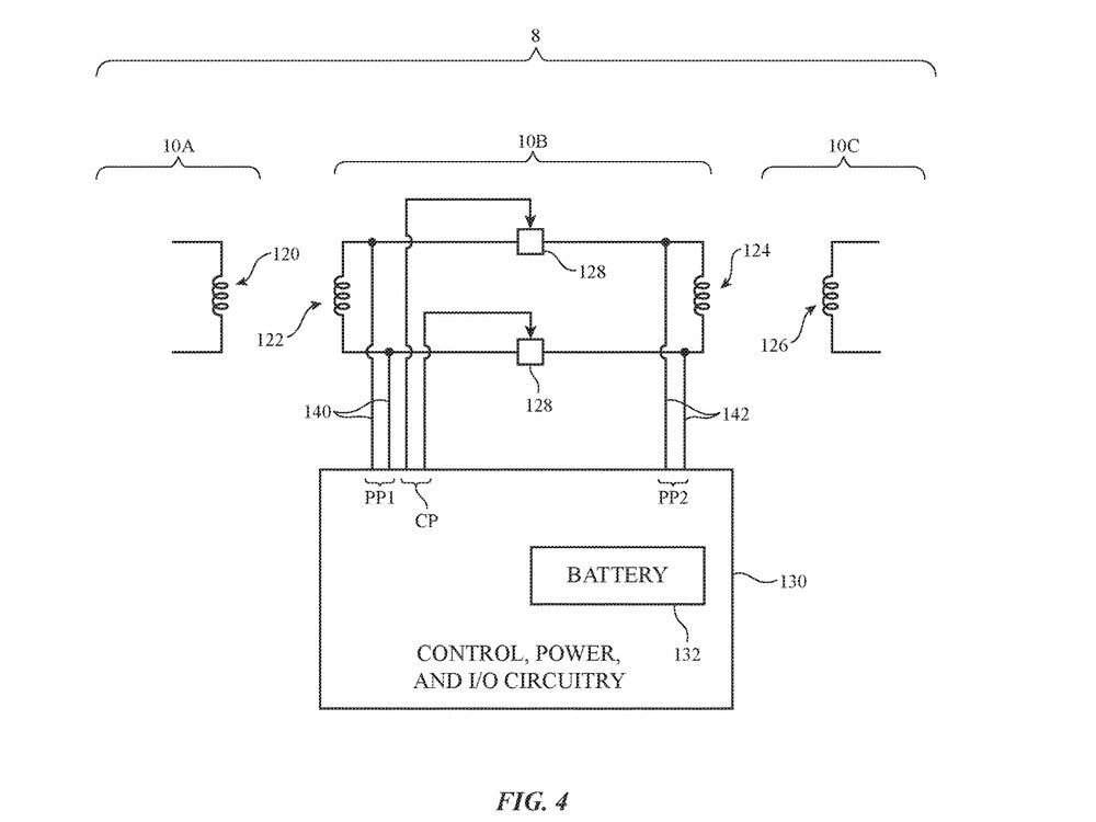
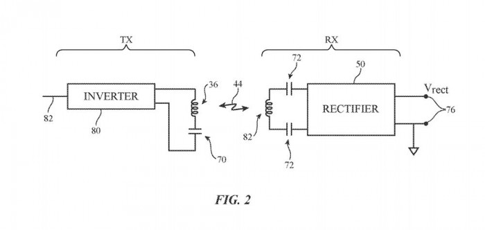
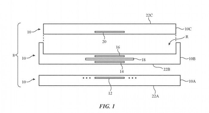
苹果的这项专利是本月早些时候获得的,在专利概述中称该电池背夹具有第一和第二线圈,分别位于电池的相对两侧,并具有在第一和第二线圈之间耦合的开关电路。双线圈将使电池盒能够通过无线充电为自己充电,同时也为设备充电。

在关机状态下,电池背夹会将两个线圈连接起来,这样电流就可以通过第一个线圈传到第二个线圈,从而为设备充电。这意味着,当电池背夹处于开启状态时,设备放在无线充电器上也可以直接充电。因此,电池背夹会先给设备充电,再给自己充电。

查看网友评论   返回完整版观看

返回上一页  首页 | cnbeta报时: 23:22:56

文字版  标准版  电脑端

© 2003-2026