长期以来,苹果一直被传闻正在开发某种形式的可折叠iPhone或其他设备,其投资和研究相关技术已有相当长的时间。尽管开展了这些工作,但苹果至今仍拒绝提供包括可分段折叠柔性显示屏的产品。这并没有阻止它的竞争对手这样做,但在可折叠设备领域,早期发布的产品也有其问题。并不是每一个折叠设备的问题都与折叠带来的压力和磨损有关,因为有时候问题在于可用性。
可折叠移动设备的优势之一是,它可以通过折叠成两半,节省用户的口袋空间。此举也有助于保护显示屏,但同时也会让设备在某些情况下闭合后更难使用,只是因为屏幕无法被看到。
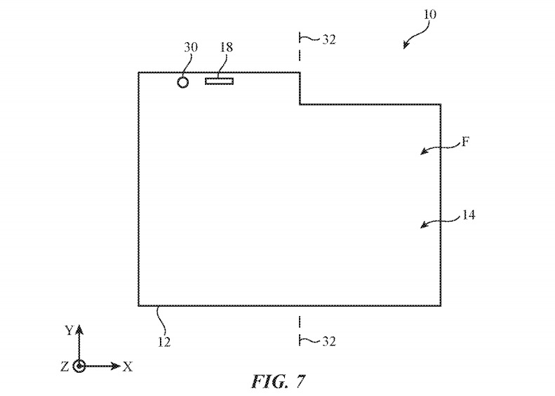
在美国专利和商标局周二授予一项名为 "显示区域外露的可折叠电子设备 "的专利中,苹果提出了一个解决潜在问题的方法,即确保即使折叠起来,也始终有一部分显示屏在视野中。虽然这可以通过将折叠点偏离显示屏中心线来实现,但苹果提出了截然不同的想法,即不依赖创建矩形柔性显示屏的版本。相反,苹果的许多概念都是围绕着制作多出一个部分的屏幕。
例如,对于书本式的折叠显示屏,该设备可以只在一侧有一个较高的显示屏。当关闭时,顶部的这个较高的部分仍将可见,而屏幕的其他部分则不可见。一个更奇特的例子是双折叠显示屏,即一个景观方向的屏幕在其长度的四分之一和四分之三处有折叠点。一个额外的部分将显示屏沿其长度的中间部分延伸出去,将提供一个类似的可见部分。
为了使设备在关闭时更有用,苹果包括声称,额外的显示条还容纳了摄像头、扬声器、环境光传感器和触摸传感器的组件。虽然暴露的部分屏幕可能会影响正常使用,苹果还提供了一个想法,额外的条带可以简单地沿着设备的侧面运行,而不是作为主显示界面的一部分。这是一个以前就有过的概念,比如三星的Galaxy Note Edge。
苹果每周都会提交大量的专利申请,但并不能保证未来的产品或服务会积极使用这些专利。
